Крупнейшая бесплатная информационно-справочная система онлайн доступа к полному собранию технических нормативно-правовых актов РФ. Огромная база технических нормативов (более 150 тысяч документов) и полное собрание национальных стандартов, аутентичное официальной базе Госстандарта. GOSTRF.com - это более 1 Терабайта бесплатной технической информации для всех пользователей интернета. Все электронные копии представленных здесь документов могут распространяться без каких-либо ограничений. Поощряется распространение информации с этого сайта на любых других ресурсах. Каждый человек имеет право на неограниченный доступ к этим документам! Каждый человек имеет право на знание требований, изложенных в данных нормативно-правовых актах!

  


 

ГОСТ 23089.14-88

Микросхемы интегральные. Методы измерения времени задержки включения и выключения компараторов напряжения

Обозначение:ГОСТ 23089.14-88
Текущий статус документа: действующий
Название документа рус.:Микросхемы интегральные. Методы измерения времени задержки включения и выключения компараторов напряжения
Название документа англ.:Integrated microcircuits. Methods for measuring delay time of the switching on/off the voltage comparators
Дата актуализации текста:01.12.2013
Дата издания:25.07.1988
Дата введения:30.06.1989
Дата последнего изменения:22.05.2013
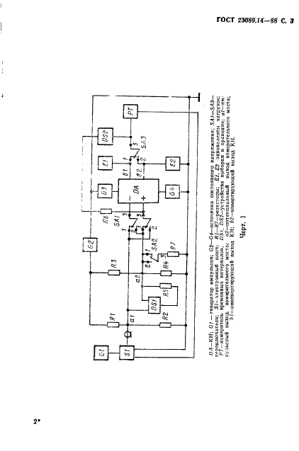
Область применения:Настоящий стандарт распространяется на компараторы напряжения (КН) с двухполярным питанием и устанавливает два метода измерения времени задержки включения и выключения;
метод 1 - для измерения времени задержки включения и выключения КН при входном синфазном напряжении, отличном от 0 В. Метод рекомендуется применять в качестве основного для измерения параметров КН с временем задержки, превышающим или равным 20 нс;
метод 2 - для измерения времени задержки включения и выключения КН при входном синфазном напряжении, равном 0 В. Метод рекомендуется применять для измерения параметров КН с временем задержки, не превышающим 20 нс и в технически обоснованных случаях для остальных КН
ГОСТ 23089.14-88ГОСТ 23089.14-88ГОСТ 23089.14-88ГОСТ 23089.14-88ГОСТ 23089.14-88ГОСТ 23089.14-88ГОСТ 23089.14-88ГОСТ 23089.14-88ГОСТ 23089.14-88ГОСТ 23089.14-88ГОСТ 23089.14-88ГОСТ 23089.14-88ГОСТ 23089.14-88ГОСТ 23089.14-88ГОСТ 23089.14-88ГОСТ 23089.14-88ГОСТ 23089.14-88ГОСТ 23089.14-88ГОСТ 23089.14-88
 




ГОСТЫ, СТРОИТЕЛЬНЫЕ и ТЕХНИЧЕСКИЕ НОРМАТИВЫ.
Некоммерческая онлайн система, содержащая все Российские Госты, национальные Стандарты и нормативы.
В Системе содержится более 150000 файлов нормативно-технической документации, действующей на территории РФ.
Система предназначена для широкого круга инженерно-технических специалистов.

Рейтинг@Mail.ru Яндекс цитирования

Copyright © www.gostrf.com, 2008 - 2026