Крупнейшая бесплатная информационно-справочная система онлайн доступа к полному собранию технических нормативно-правовых актов РФ. Огромная база технических нормативов (более 150 тысяч документов) и полное собрание национальных стандартов, аутентичное официальной базе Госстандарта. GOSTRF.com - это более 1 Терабайта бесплатной технической информации для всех пользователей интернета. Все электронные копии представленных здесь документов могут распространяться без каких-либо ограничений. Поощряется распространение информации с этого сайта на любых других ресурсах. Каждый человек имеет право на неограниченный доступ к этим документам! Каждый человек имеет право на знание требований, изложенных в данных нормативно-правовых актах!

  


 

ГОСТ 2746.1-88

Патроны резьбовые пластмассовые серии Е14 и Е27. Технические условия

Обозначение:ГОСТ 2746.1-88
Текущий статус документа: действующий
Название документа рус.:Патроны резьбовые пластмассовые серии Е14 и Е27. Технические условия
Название документа англ.:Plastic Edison screw lampholders. Specifications
Дата актуализации текста:01.12.2013
Дата издания:01.03.1998
Дата введения:01.01.1990
Дата последнего изменения:22.05.2013
Переиздание:переиздание с изм. 1
Взамен:
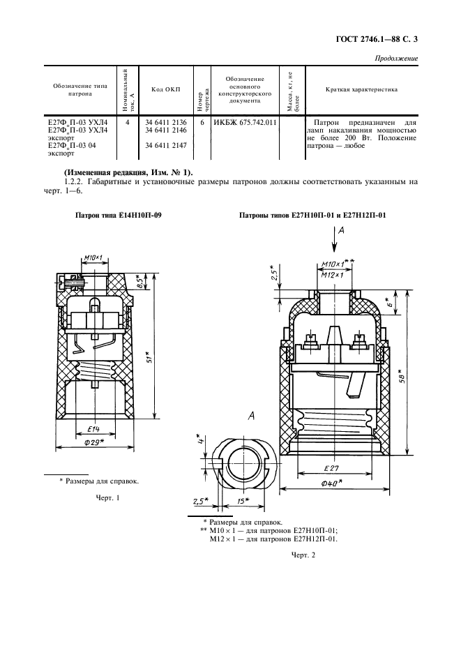
Область применения:Настоящий стандарт распространяется на резьбовые пластмассовые патроны серий Е14 и Е27, рассчитанные на работу в электрических сетях переменного тока с номинальным напряжением 220 В и номинальной частоты 50 или 60 Гц и предназначенные для установки в них электрических ламп с цоколем соответственно Е14 и Е27 , изготовляемые для нужд народного хозяйства и экспорта
Список изменений:№1 от 01.12.1990 (рег. 30.05.1990) «Срок действия продлен»
ГОСТ 2746.1-88ГОСТ 2746.1-88ГОСТ 2746.1-88ГОСТ 2746.1-88ГОСТ 2746.1-88ГОСТ 2746.1-88ГОСТ 2746.1-88ГОСТ 2746.1-88ГОСТ 2746.1-88ГОСТ 2746.1-88ГОСТ 2746.1-88
 




ГОСТЫ, СТРОИТЕЛЬНЫЕ и ТЕХНИЧЕСКИЕ НОРМАТИВЫ.
Некоммерческая онлайн система, содержащая все Российские Госты, национальные Стандарты и нормативы.
В Системе содержится более 150000 файлов нормативно-технической документации, действующей на территории РФ.
Система предназначена для широкого круга инженерно-технических специалистов.

Рейтинг@Mail.ru Яндекс цитирования

Copyright © www.gostrf.com, 2008 - 2026