Крупнейшая бесплатная информационно-справочная система онлайн доступа к полному собранию технических нормативно-правовых актов РФ. Огромная база технических нормативов (более 150 тысяч документов) и полное собрание национальных стандартов, аутентичное официальной базе Госстандарта. GOSTRF.com - это более 1 Терабайта бесплатной технической информации для всех пользователей интернета. Все электронные копии представленных здесь документов могут распространяться без каких-либо ограничений. Поощряется распространение информации с этого сайта на любых других ресурсах. Каждый человек имеет право на неограниченный доступ к этим документам! Каждый человек имеет право на знание требований, изложенных в данных нормативно-правовых актах!

  


 

ГОСТ 21655-87

Каналы и тракты магистральной первичной сети единой автоматизированной системы связи. Электрические параметры и методы измерений

Обозначение:ГОСТ 21655-87
Текущий статус документа: действующий
Название документа рус.:Каналы и тракты магистральной первичной сети единой автоматизированной системы связи. Электрические параметры и методы измерений
Название документа англ.:Channels and links of primary trunk network within all-union automatic communication system. Electric parameters and methods of measurement
Дата актуализации текста:01.12.2013
Дата издания:19.02.1988
Дата введения:01.01.1989
Дата последнего изменения:22.05.2013
Область применения:Настоящий стандарт распространяется на каналы тональной частоты, первичные, вторичные и третичные сетевые тракты и первичные, вторичные и третичные широкополосные каналы магистральной первичной сети между сетевыми станциями и сетевыми узлами магистральной сети, образованные в системах передачи с частотным разделением каналов (кабельные системы передачи), радиорелейные системы передачи прямой видимости, спутниковые системы передачи и предназначенные для организации передачи сигналов сообщений различных видов между отдельными пунктами сети.
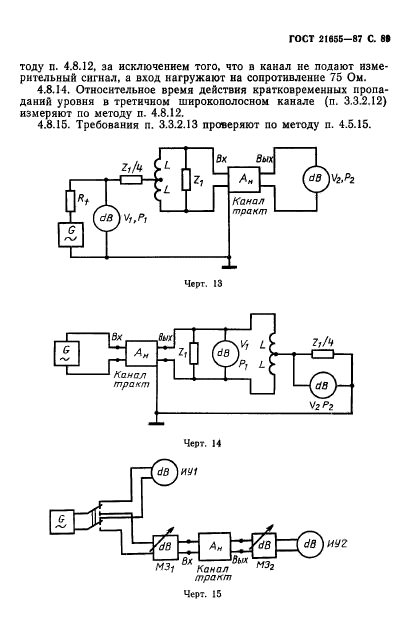
Стандарт устанавливает нормы электрических параметров и методы их измерений
ГОСТ 21655-87ГОСТ 21655-87ГОСТ 21655-87ГОСТ 21655-87ГОСТ 21655-87ГОСТ 21655-87ГОСТ 21655-87ГОСТ 21655-87ГОСТ 21655-87ГОСТ 21655-87ГОСТ 21655-87ГОСТ 21655-87ГОСТ 21655-87ГОСТ 21655-87ГОСТ 21655-87ГОСТ 21655-87ГОСТ 21655-87ГОСТ 21655-87ГОСТ 21655-87ГОСТ 21655-87ГОСТ 21655-87ГОСТ 21655-87ГОСТ 21655-87ГОСТ 21655-87ГОСТ 21655-87ГОСТ 21655-87ГОСТ 21655-87ГОСТ 21655-87ГОСТ 21655-87ГОСТ 21655-87ГОСТ 21655-87ГОСТ 21655-87ГОСТ 21655-87ГОСТ 21655-87ГОСТ 21655-87ГОСТ 21655-87ГОСТ 21655-87ГОСТ 21655-87ГОСТ 21655-87ГОСТ 21655-87ГОСТ 21655-87ГОСТ 21655-87ГОСТ 21655-87ГОСТ 21655-87ГОСТ 21655-87ГОСТ 21655-87ГОСТ 21655-87ГОСТ 21655-87ГОСТ 21655-87ГОСТ 21655-87ГОСТ 21655-87ГОСТ 21655-87ГОСТ 21655-87ГОСТ 21655-87ГОСТ 21655-87ГОСТ 21655-87ГОСТ 21655-87ГОСТ 21655-87ГОСТ 21655-87ГОСТ 21655-87ГОСТ 21655-87ГОСТ 21655-87ГОСТ 21655-87ГОСТ 21655-87ГОСТ 21655-87ГОСТ 21655-87ГОСТ 21655-87ГОСТ 21655-87ГОСТ 21655-87ГОСТ 21655-87ГОСТ 21655-87ГОСТ 21655-87ГОСТ 21655-87ГОСТ 21655-87ГОСТ 21655-87ГОСТ 21655-87ГОСТ 21655-87ГОСТ 21655-87ГОСТ 21655-87ГОСТ 21655-87ГОСТ 21655-87ГОСТ 21655-87ГОСТ 21655-87ГОСТ 21655-87ГОСТ 21655-87ГОСТ 21655-87ГОСТ 21655-87ГОСТ 21655-87ГОСТ 21655-87ГОСТ 21655-87ГОСТ 21655-87ГОСТ 21655-87ГОСТ 21655-87ГОСТ 21655-87ГОСТ 21655-87ГОСТ 21655-87ГОСТ 21655-87ГОСТ 21655-87ГОСТ 21655-87ГОСТ 21655-87ГОСТ 21655-87ГОСТ 21655-87ГОСТ 21655-87ГОСТ 21655-87ГОСТ 21655-87ГОСТ 21655-87
 




ГОСТЫ, СТРОИТЕЛЬНЫЕ и ТЕХНИЧЕСКИЕ НОРМАТИВЫ.
Некоммерческая онлайн система, содержащая все Российские Госты, национальные Стандарты и нормативы.
В Системе содержится более 150000 файлов нормативно-технической документации, действующей на территории РФ.
Система предназначена для широкого круга инженерно-технических специалистов.

Рейтинг@Mail.ru Яндекс цитирования

Copyright © www.gostrf.com, 2008 - 2026