Крупнейшая бесплатная информационно-справочная система онлайн доступа к полному собранию технических нормативно-правовых актов РФ. Огромная база технических нормативов (более 150 тысяч документов) и полное собрание национальных стандартов, аутентичное официальной базе Госстандарта. GOSTRF.com - это более 1 Терабайта бесплатной технической информации для всех пользователей интернета. Все электронные копии представленных здесь документов могут распространяться без каких-либо ограничений. Поощряется распространение информации с этого сайта на любых других ресурсах. Каждый человек имеет право на неограниченный доступ к этим документам! Каждый человек имеет право на знание требований, изложенных в данных нормативно-правовых актах!

  


 

ГОСТ 9.506-87

Единая система защиты от коррозии и старения. Ингибиторы коррозии металлов в водно-нефтяных средах. Методы определения защитной способности

Обозначение:ГОСТ 9.506-87
Текущий статус документа: действующий
Название документа рус.:Единая система защиты от коррозии и старения. Ингибиторы коррозии металлов в водно-нефтяных средах. Методы определения защитной способности
Название документа англ.:Unified system of corrosion and ageing protection. Corrosion inhibitors of metals in water-petroleum environments. Methods of protective ability evaluation
Дата актуализации текста:01.12.2013
Дата издания:19.01.1988
Дата введения:30.06.1988
Дата последнего изменения:25.11.2013
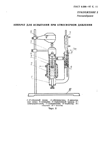
Область применения:Настоящий стандарт распределяется на ингибиторы коррозии металлов (далее - ингибиторы), применяемые в нефтяной промышленности для защиты от коррозии конструкционных металлов нефтепромыслового оборудования и коммуникаций в водно-нефтяных средах, и устанавливает для метода определения их защитной способности при сплошной коррозии:
электрохимический - для качественной предварительной и сравнительной оценки защитной способности ингибиторов в водной части испытуемой среды;
гравиметрический - для количественной оценки защитной способности ингибиторов и выдачи рекомендаций к стендовым испытаниям наиболее эффективных ингибиторов.
ГОСТ 9.506-87ГОСТ 9.506-87ГОСТ 9.506-87ГОСТ 9.506-87ГОСТ 9.506-87ГОСТ 9.506-87ГОСТ 9.506-87ГОСТ 9.506-87ГОСТ 9.506-87ГОСТ 9.506-87ГОСТ 9.506-87ГОСТ 9.506-87ГОСТ 9.506-87ГОСТ 9.506-87ГОСТ 9.506-87ГОСТ 9.506-87ГОСТ 9.506-87
 




ГОСТЫ, СТРОИТЕЛЬНЫЕ и ТЕХНИЧЕСКИЕ НОРМАТИВЫ.
Некоммерческая онлайн система, содержащая все Российские Госты, национальные Стандарты и нормативы.
В Системе содержится более 150000 файлов нормативно-технической документации, действующей на территории РФ.
Система предназначена для широкого круга инженерно-технических специалистов.

Рейтинг@Mail.ru Яндекс цитирования

Copyright © www.gostrf.com, 2008 - 2026