Крупнейшая бесплатная информационно-справочная система онлайн доступа к полному собранию технических нормативно-правовых актов РФ. Огромная база технических нормативов (более 150 тысяч документов) и полное собрание национальных стандартов, аутентичное официальной базе Госстандарта. GOSTRF.com - это более 1 Терабайта бесплатной технической информации для всех пользователей интернета. Все электронные копии представленных здесь документов могут распространяться без каких-либо ограничений. Поощряется распространение информации с этого сайта на любых других ресурсах. Каждый человек имеет право на неограниченный доступ к этим документам! Каждый человек имеет право на знание требований, изложенных в данных нормативно-правовых актах!

  


 

ГОСТ 26258-87

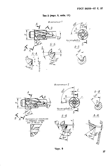
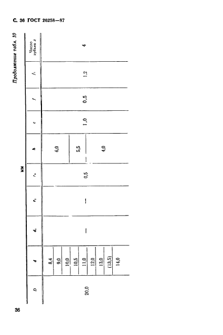
Цековки цилиндрические для обработки опорных поверхностей под крепежные детали. Технические условия

Обозначение:ГОСТ 26258-87
Текущий статус документа: действующий
Название документа рус.:Цековки цилиндрические для обработки опорных поверхностей под крепежные детали. Технические условия
Название документа англ.:Counterbores desighed for working bearing surfaces under fastenings. Specifications
Дата актуализации текста:01.12.2013
Дата издания:05.02.1988
Дата введения:01.01.1989
Дата последнего изменения:22.05.2013
Область применения:Настоящий стандарт распространяется на цилиндрические цековки, предназначенные для обработки опорных поверхностей под крепежные детали, кроме цековок под увеличенные шайбы для обработки опорных поверхностей диаметром свыше 61 мм и выступающие опорные поверхности диаметром до 15 мм
ГОСТ 26258-87ГОСТ 26258-87ГОСТ 26258-87ГОСТ 26258-87ГОСТ 26258-87ГОСТ 26258-87ГОСТ 26258-87ГОСТ 26258-87ГОСТ 26258-87ГОСТ 26258-87ГОСТ 26258-87ГОСТ 26258-87ГОСТ 26258-87ГОСТ 26258-87ГОСТ 26258-87ГОСТ 26258-87ГОСТ 26258-87ГОСТ 26258-87ГОСТ 26258-87ГОСТ 26258-87ГОСТ 26258-87ГОСТ 26258-87ГОСТ 26258-87ГОСТ 26258-87ГОСТ 26258-87ГОСТ 26258-87ГОСТ 26258-87ГОСТ 26258-87ГОСТ 26258-87ГОСТ 26258-87ГОСТ 26258-87ГОСТ 26258-87ГОСТ 26258-87ГОСТ 26258-87ГОСТ 26258-87ГОСТ 26258-87ГОСТ 26258-87ГОСТ 26258-87ГОСТ 26258-87ГОСТ 26258-87ГОСТ 26258-87ГОСТ 26258-87ГОСТ 26258-87ГОСТ 26258-87ГОСТ 26258-87ГОСТ 26258-87
 




ГОСТЫ, СТРОИТЕЛЬНЫЕ и ТЕХНИЧЕСКИЕ НОРМАТИВЫ.
Некоммерческая онлайн система, содержащая все Российские Госты, национальные Стандарты и нормативы.
В Системе содержится более 150000 файлов нормативно-технической документации, действующей на территории РФ.
Система предназначена для широкого круга инженерно-технических специалистов.

Рейтинг@Mail.ru Яндекс цитирования

Copyright © www.gostrf.com, 2008 - 2026