Крупнейшая бесплатная информационно-справочная система онлайн доступа к полному собранию технических нормативно-правовых актов РФ. Огромная база технических нормативов (более 150 тысяч документов) и полное собрание национальных стандартов, аутентичное официальной базе Госстандарта. GOSTRF.com - это более 1 Терабайта бесплатной технической информации для всех пользователей интернета. Все электронные копии представленных здесь документов могут распространяться без каких-либо ограничений. Поощряется распространение информации с этого сайта на любых других ресурсах. Каждый человек имеет право на неограниченный доступ к этим документам! Каждый человек имеет право на знание требований, изложенных в данных нормативно-правовых актах!

  


 

ГОСТ 22133-86

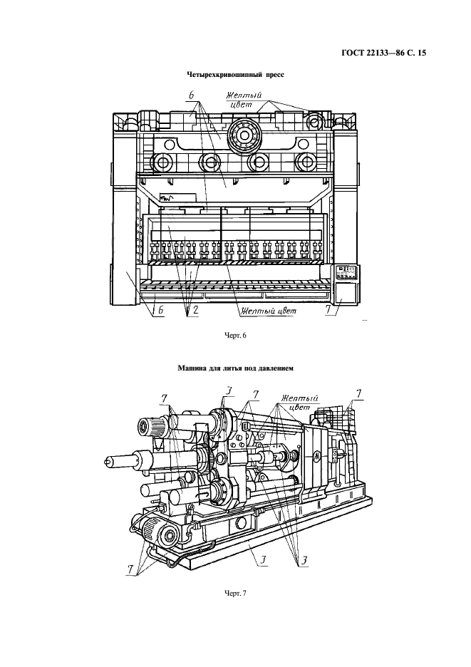
Покрытия лакокрасочные металлорежущего, кузнечно-прессового, литейного и деревообрабатывающего оборудования. Общие требования

Обозначение:ГОСТ 22133-86
Текущий статус документа: действующий
Название документа рус.:Покрытия лакокрасочные металлорежущего, кузнечно-прессового, литейного и деревообрабатывающего оборудования. Общие требования
Название документа англ.:Paint coatings of metal-cutting, press-forging, foundry and wood-working equipment. General requirements
Дата актуализации текста:01.12.2013
Дата издания:01.02.2001
Дата введения:01.01.1988
Дата последнего изменения:22.05.2013
Переиздание:переиздание с изм. 1
Область применения:Настоящий стандарт распространяется на лакокрасочные покрытия металлорежущего, кузнечно-прессового, литейного и деревообрабатывающего оборудования, в том числе роботизированных технологических комплексов, устанавливает общие требования, цвет, фактуру и классы лакокрасочных покрытий
Список изменений:№1 от 01.09.1988 (рег. 20.04.1988) «Срок действия продлен»
ГОСТ 22133-86ГОСТ 22133-86ГОСТ 22133-86ГОСТ 22133-86ГОСТ 22133-86ГОСТ 22133-86ГОСТ 22133-86ГОСТ 22133-86ГОСТ 22133-86ГОСТ 22133-86ГОСТ 22133-86ГОСТ 22133-86ГОСТ 22133-86ГОСТ 22133-86ГОСТ 22133-86ГОСТ 22133-86ГОСТ 22133-86ГОСТ 22133-86ГОСТ 22133-86
 




ГОСТЫ, СТРОИТЕЛЬНЫЕ и ТЕХНИЧЕСКИЕ НОРМАТИВЫ.
Некоммерческая онлайн система, содержащая все Российские Госты, национальные Стандарты и нормативы.
В Системе содержится более 150000 файлов нормативно-технической документации, действующей на территории РФ.
Система предназначена для широкого круга инженерно-технических специалистов.

Рейтинг@Mail.ru Яндекс цитирования

Copyright © www.gostrf.com, 2008 - 2026