Крупнейшая бесплатная информационно-справочная система онлайн доступа к полному собранию технических нормативно-правовых актов РФ. Огромная база технических нормативов (более 150 тысяч документов) и полное собрание национальных стандартов, аутентичное официальной базе Госстандарта. GOSTRF.com - это более 1 Терабайта бесплатной технической информации для всех пользователей интернета. Все электронные копии представленных здесь документов могут распространяться без каких-либо ограничений. Поощряется распространение информации с этого сайта на любых других ресурсах. Каждый человек имеет право на неограниченный доступ к этим документам! Каждый человек имеет право на знание требований, изложенных в данных нормативно-правовых актах!

  


 

ГОСТ 27019-86

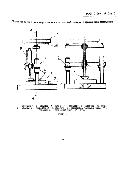
Материалы полимерные рулонные для полов. Ускоренный метод определения звукоизоляционных свойств

Обозначение:ГОСТ 27019-86
Текущий статус документа: действующий
Название документа рус.:Материалы полимерные рулонные для полов. Ускоренный метод определения звукоизоляционных свойств
Название документа англ.:Rolled polymer materials for floors. Method of rapid determination of sound-insulation properties
Дата актуализации текста:01.12.2013
Дата издания:29.01.1987
Дата введения:01.01.1987
Дата последнего изменения:22.05.2013
Область применения:Настоящий стандарт распространяется на полимерные материалы для покрытия полов в помещениях жилых и общественных зданий, укладываемых непосредственно по несущей плите перекрытия, и устанавливает ускоренный метод определения звукоизоляционных свойств полимерных рулонных покрытий для полов
ГОСТ 27019-86ГОСТ 27019-86ГОСТ 27019-86ГОСТ 27019-86ГОСТ 27019-86ГОСТ 27019-86ГОСТ 27019-86ГОСТ 27019-86ГОСТ 27019-86ГОСТ 27019-86ГОСТ 27019-86ГОСТ 27019-86ГОСТ 27019-86ГОСТ 27019-86ГОСТ 27019-86
 




ГОСТЫ, СТРОИТЕЛЬНЫЕ и ТЕХНИЧЕСКИЕ НОРМАТИВЫ.
Некоммерческая онлайн система, содержащая все Российские Госты, национальные Стандарты и нормативы.
В Системе содержится более 150000 файлов нормативно-технической документации, действующей на территории РФ.
Система предназначена для широкого круга инженерно-технических специалистов.

Рейтинг@Mail.ru Яндекс цитирования

Copyright © www.gostrf.com, 2008 - 2026