Крупнейшая бесплатная информационно-справочная система онлайн доступа к полному собранию технических нормативно-правовых актов РФ. Огромная база технических нормативов (более 150 тысяч документов) и полное собрание национальных стандартов, аутентичное официальной базе Госстандарта. GOSTRF.com - это более 1 Терабайта бесплатной технической информации для всех пользователей интернета. Все электронные копии представленных здесь документов могут распространяться без каких-либо ограничений. Поощряется распространение информации с этого сайта на любых других ресурсах. Каждый человек имеет право на неограниченный доступ к этим документам! Каждый человек имеет право на знание требований, изложенных в данных нормативно-правовых актах!

  


 

ГОСТ 26222-86

Детекторы ионизирующих излучений полупроводниковые. Методы измерения параметров

Обозначение:ГОСТ 26222-86
Текущий статус документа: действующий
Название документа рус.:Детекторы ионизирующих излучений полупроводниковые. Методы измерения параметров
Название документа англ.:Ionizing-radiation semiconductor detectors. Methods of parameters measurement
Дата актуализации текста:01.12.2013
Дата издания:09.07.1986
Дата введения:30.06.1987
Дата последнего изменения:22.05.2013
Взамен:
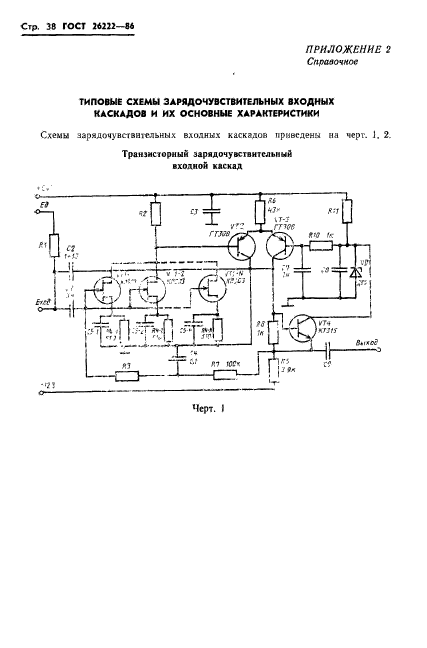
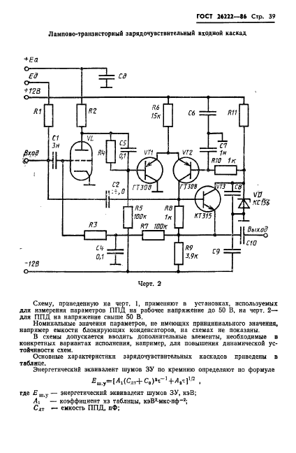
Область применения:Настоящий стандарт распространяется на полупроводниковые детекторы ионизирующих излучений (ППД) и устанавливает методы измерения их электрических и радиометрических параметров:
темнового тока;
емкости (гармонический и зарядовый методы);
энергетического разрешения;
энергетического эквивалента шума (метод непосредственного измерения и спектрометрический метод);
энергетического эквивалента толщины метрвого слоя;
дискретной чувствительности регистрации;
средней частоты следования фоновых импульсов;
радиационной помехоустойчивости;
аналоговой чувствительности регистарции (статический и импульсный методы);
времени нарастания сигнала;
длительсности фронта нарастания сигнала.
Стандарт не распространяется на ППД, изготавливаемые по ГОСТ 18398-81, а также на запоминающие ППД
ГОСТ 26222-86ГОСТ 26222-86ГОСТ 26222-86ГОСТ 26222-86ГОСТ 26222-86ГОСТ 26222-86ГОСТ 26222-86ГОСТ 26222-86ГОСТ 26222-86ГОСТ 26222-86ГОСТ 26222-86ГОСТ 26222-86ГОСТ 26222-86ГОСТ 26222-86ГОСТ 26222-86ГОСТ 26222-86ГОСТ 26222-86ГОСТ 26222-86ГОСТ 26222-86ГОСТ 26222-86ГОСТ 26222-86ГОСТ 26222-86ГОСТ 26222-86ГОСТ 26222-86ГОСТ 26222-86ГОСТ 26222-86ГОСТ 26222-86ГОСТ 26222-86ГОСТ 26222-86ГОСТ 26222-86ГОСТ 26222-86ГОСТ 26222-86ГОСТ 26222-86ГОСТ 26222-86ГОСТ 26222-86ГОСТ 26222-86ГОСТ 26222-86ГОСТ 26222-86ГОСТ 26222-86ГОСТ 26222-86ГОСТ 26222-86ГОСТ 26222-86ГОСТ 26222-86ГОСТ 26222-86ГОСТ 26222-86
 




ГОСТЫ, СТРОИТЕЛЬНЫЕ и ТЕХНИЧЕСКИЕ НОРМАТИВЫ.
Некоммерческая онлайн система, содержащая все Российские Госты, национальные Стандарты и нормативы.
В Системе содержится более 150000 файлов нормативно-технической документации, действующей на территории РФ.
Система предназначена для широкого круга инженерно-технических специалистов.

Рейтинг@Mail.ru Яндекс цитирования

Copyright © www.gostrf.com, 2008 - 2026