Крупнейшая бесплатная информационно-справочная система онлайн доступа к полному собранию технических нормативно-правовых актов РФ. Огромная база технических нормативов (более 150 тысяч документов) и полное собрание национальных стандартов, аутентичное официальной базе Госстандарта. GOSTRF.com - это более 1 Терабайта бесплатной технической информации для всех пользователей интернета. Все электронные копии представленных здесь документов могут распространяться без каких-либо ограничений. Поощряется распространение информации с этого сайта на любых других ресурсах. Каждый человек имеет право на неограниченный доступ к этим документам! Каждый человек имеет право на знание требований, изложенных в данных нормативно-правовых актах!

  


 

ГОСТ 9798-85

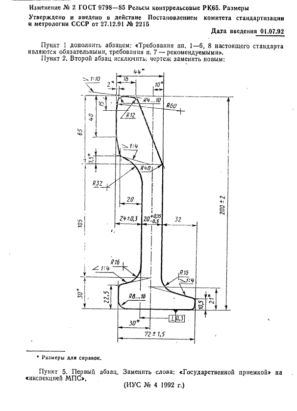
Рельсы контррельсовые РК65. Размеры

Обозначение:ГОСТ 9798-85
Текущий статус документа: действующий
Название документа рус.:Рельсы контррельсовые РК65. Размеры
Название документа англ.:Rails for RK65 check rails. Dimensions
Дата актуализации текста:01.12.2013
Дата издания:01.01.1985
Дата введения:30.06.1985
Дата последнего изменения:16.10.2013
Дата окончания срока действия:01.01.2014
Область применения:Настоящий стандарт распространяется на контррельсовые рельсы РК65, применяемые в конструкциях верхнего строения пути с железнодорожными рельсами типа Р65
Список изменений:№0 от 01.01.2014 (рег. 29.07.2013) «Поправка к изменению»
№1 от 01.07.1990 (рег. 05.12.1989) «Срок действия продлен»
№2 от 01.07.1992 (рег. 27.12.1991) «Срок действия продлен»
ГОСТ 9798-85ГОСТ 9798-85ГОСТ 9798-85ГОСТ 9798-85ГОСТ 9798-85ГОСТ 9798-85ГОСТ 9798-85ГОСТ 9798-85
 




ГОСТЫ, СТРОИТЕЛЬНЫЕ и ТЕХНИЧЕСКИЕ НОРМАТИВЫ.
Некоммерческая онлайн система, содержащая все Российские Госты, национальные Стандарты и нормативы.
В Системе содержится более 150000 файлов нормативно-технической документации, действующей на территории РФ.
Система предназначена для широкого круга инженерно-технических специалистов.

Рейтинг@Mail.ru Яндекс цитирования

Copyright © www.gostrf.com, 2008 - 2026