Крупнейшая бесплатная информационно-справочная система онлайн доступа к полному собранию технических нормативно-правовых актов РФ. Огромная база технических нормативов (более 150 тысяч документов) и полное собрание национальных стандартов, аутентичное официальной базе Госстандарта. GOSTRF.com - это более 1 Терабайта бесплатной технической информации для всех пользователей интернета. Все электронные копии представленных здесь документов могут распространяться без каких-либо ограничений. Поощряется распространение информации с этого сайта на любых других ресурсах. Каждый человек имеет право на неограниченный доступ к этим документам! Каждый человек имеет право на знание требований, изложенных в данных нормативно-правовых актах!

  


 

ГОСТ 26466-85

Костюм специальный меховой для военнослужащих Военно-Морского Флота. Технические условия

Обозначение:ГОСТ 26466-85
Текущий статус документа: действующий
Название документа рус.:Костюм специальный меховой для военнослужащих Военно-Морского Флота. Технические условия
Название документа англ.:Special fur suit for Navy soldiers. Specifications
Дата актуализации текста:01.12.2013
Дата издания:29.05.1985
Дата введения:30.06.1986
Дата последнего изменения:22.05.2013
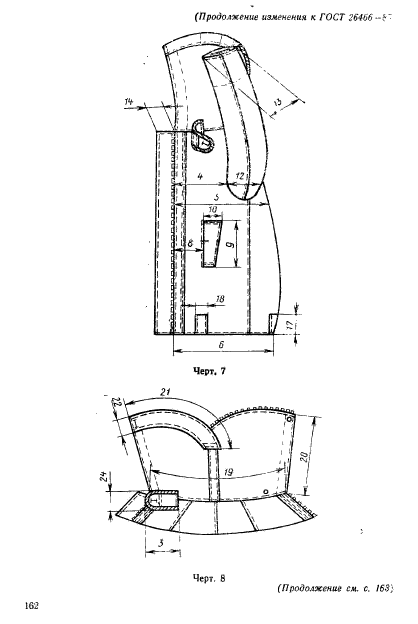
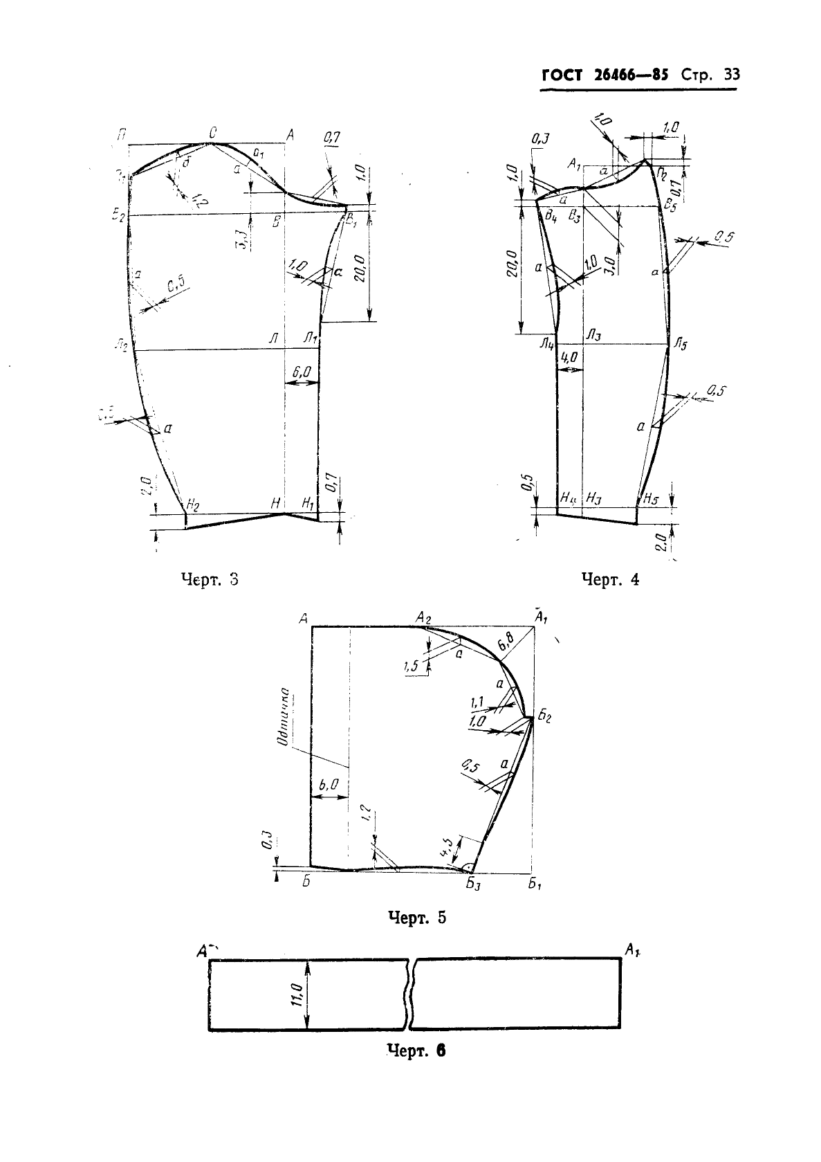
Область применения:Настоящий стандарт распространяется на зимний костюм из шубной овчины с пленочным покрытием, состоящий из куртки и брюк, предназначенный в качестве спецодежды для личного состава Военно-Морского Флота
Список изменений:№1 от 01.07.1991 (рег. 29.12.1990) «Срок действия продлен»
ГОСТ 26466-85ГОСТ 26466-85ГОСТ 26466-85ГОСТ 26466-85ГОСТ 26466-85ГОСТ 26466-85ГОСТ 26466-85ГОСТ 26466-85ГОСТ 26466-85ГОСТ 26466-85ГОСТ 26466-85ГОСТ 26466-85ГОСТ 26466-85ГОСТ 26466-85ГОСТ 26466-85ГОСТ 26466-85ГОСТ 26466-85ГОСТ 26466-85ГОСТ 26466-85ГОСТ 26466-85ГОСТ 26466-85ГОСТ 26466-85ГОСТ 26466-85ГОСТ 26466-85ГОСТ 26466-85ГОСТ 26466-85ГОСТ 26466-85ГОСТ 26466-85ГОСТ 26466-85ГОСТ 26466-85ГОСТ 26466-85ГОСТ 26466-85ГОСТ 26466-85ГОСТ 26466-85ГОСТ 26466-85ГОСТ 26466-85ГОСТ 26466-85ГОСТ 26466-85ГОСТ 26466-85ГОСТ 26466-85ГОСТ 26466-85ГОСТ 26466-85ГОСТ 26466-85ГОСТ 26466-85ГОСТ 26466-85ГОСТ 26466-85ГОСТ 26466-85ГОСТ 26466-85ГОСТ 26466-85ГОСТ 26466-85ГОСТ 26466-85ГОСТ 26466-85ГОСТ 26466-85ГОСТ 26466-85
 




ГОСТЫ, СТРОИТЕЛЬНЫЕ и ТЕХНИЧЕСКИЕ НОРМАТИВЫ.
Некоммерческая онлайн система, содержащая все Российские Госты, национальные Стандарты и нормативы.
В Системе содержится более 150000 файлов нормативно-технической документации, действующей на территории РФ.
Система предназначена для широкого круга инженерно-технических специалистов.

Рейтинг@Mail.ru Яндекс цитирования

Copyright © www.gostrf.com, 2008 - 2026