Крупнейшая бесплатная информационно-справочная система онлайн доступа к полному собранию технических нормативно-правовых актов РФ. Огромная база технических нормативов (более 150 тысяч документов) и полное собрание национальных стандартов, аутентичное официальной базе Госстандарта. GOSTRF.com - это более 1 Терабайта бесплатной технической информации для всех пользователей интернета. Все электронные копии представленных здесь документов могут распространяться без каких-либо ограничений. Поощряется распространение информации с этого сайта на любых других ресурсах. Каждый человек имеет право на неограниченный доступ к этим документам! Каждый человек имеет право на знание требований, изложенных в данных нормативно-правовых актах!

  


 

ГОСТ 12.4.163-85

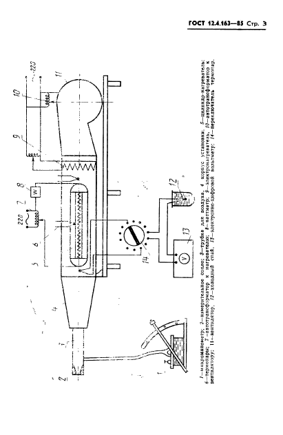
Система стандартов безопасности труда. Материалы с полимерным покрытием для средств защиты рук. Метод определения суммарного теплового сопротивления

Обозначение:ГОСТ 12.4.163-85
Текущий статус документа: действующий
Название документа рус.:Система стандартов безопасности труда. Материалы с полимерным покрытием для средств защиты рук. Метод определения суммарного теплового сопротивления
Название документа англ.:Occupational safety standards system. Polymer coated materials for hand protective means. Method for determination of summary thermal resistance
Дата актуализации текста:01.12.2013
Дата издания:13.11.1985
Дата введения:01.01.1987
Дата последнего изменения:22.05.2013
Область применения:Настоящий стандарт распространяется на материалы с полимерным покрытием для средств защиты рук и устанавливает метод определения суммарного теплового сопротивления в интервале температур от 0 до 100 град. С. Метод применяется на стадии разработки и постановки продукции на производство
ГОСТ 12.4.163-85ГОСТ 12.4.163-85ГОСТ 12.4.163-85ГОСТ 12.4.163-85ГОСТ 12.4.163-85ГОСТ 12.4.163-85ГОСТ 12.4.163-85ГОСТ 12.4.163-85
 




ГОСТЫ, СТРОИТЕЛЬНЫЕ и ТЕХНИЧЕСКИЕ НОРМАТИВЫ.
Некоммерческая онлайн система, содержащая все Российские Госты, национальные Стандарты и нормативы.
В Системе содержится более 150000 файлов нормативно-технической документации, действующей на территории РФ.
Система предназначена для широкого круга инженерно-технических специалистов.

Рейтинг@Mail.ru Яндекс цитирования

Copyright © www.gostrf.com, 2008 - 2026