Крупнейшая бесплатная информационно-справочная система онлайн доступа к полному собранию технических нормативно-правовых актов РФ. Огромная база технических нормативов (более 150 тысяч документов) и полное собрание национальных стандартов, аутентичное официальной базе Госстандарта. GOSTRF.com - это более 1 Терабайта бесплатной технической информации для всех пользователей интернета. Все электронные копии представленных здесь документов могут распространяться без каких-либо ограничений. Поощряется распространение информации с этого сайта на любых других ресурсах. Каждый человек имеет право на неограниченный доступ к этим документам! Каждый человек имеет право на знание требований, изложенных в данных нормативно-правовых актах!

  


 

ГОСТ 26388-84

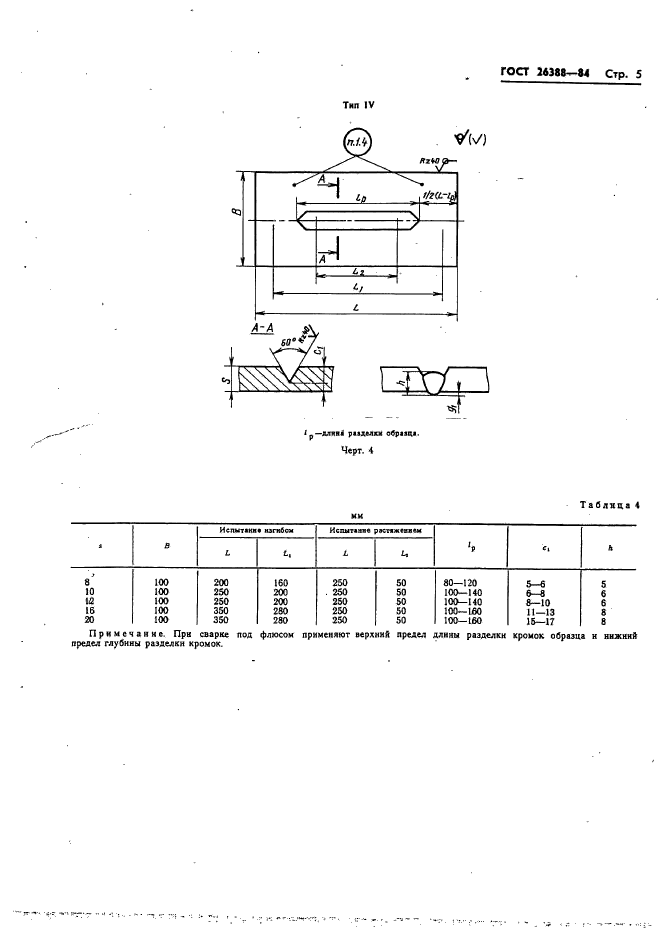
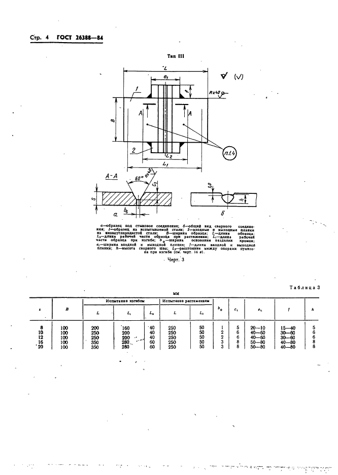
Соединения сварные. Методы испытаний на сопротивляемость образованию холодных трещин при сварке плавлением

Обозначение:ГОСТ 26388-84
Текущий статус документа: действует только в РФ
Название документа рус.:Соединения сварные. Методы испытаний на сопротивляемость образованию холодных трещин при сварке плавлением
Название документа англ.:Welded joints. Test methods on resistance to cold crack formation under fusion welding
Дата актуализации текста:01.12.2013
Дата издания:25.02.1985
Дата введения:01.01.1986
Дата последнего изменения:22.05.2013
Область применения:Стандарт устанавливает методы испытаний на сопротивляемость углеродистых и легированных сталей основного металла в зоне термического влияния и металла шва образованию холодных трещин при однопроходной сварке (в том числе при сварке корневого валика многослойных швов)
Список изменений:№0 от 01.03.2000 (рег. 14.10.1999) «Восстановлен на территории РФ»
ГОСТ 26388-84ГОСТ 26388-84ГОСТ 26388-84ГОСТ 26388-84ГОСТ 26388-84ГОСТ 26388-84ГОСТ 26388-84ГОСТ 26388-84ГОСТ 26388-84ГОСТ 26388-84ГОСТ 26388-84ГОСТ 26388-84ГОСТ 26388-84ГОСТ 26388-84ГОСТ 26388-84ГОСТ 26388-84ГОСТ 26388-84ГОСТ 26388-84ГОСТ 26388-84ГОСТ 26388-84ГОСТ 26388-84ГОСТ 26388-84ГОСТ 26388-84ГОСТ 26388-84
 




ГОСТЫ, СТРОИТЕЛЬНЫЕ и ТЕХНИЧЕСКИЕ НОРМАТИВЫ.
Некоммерческая онлайн система, содержащая все Российские Госты, национальные Стандарты и нормативы.
В Системе содержится более 150000 файлов нормативно-технической документации, действующей на территории РФ.
Система предназначена для широкого круга инженерно-технических специалистов.

Рейтинг@Mail.ru Яндекс цитирования

Copyright © www.gostrf.com, 2008 - 2026