Крупнейшая бесплатная информационно-справочная система онлайн доступа к полному собранию технических нормативно-правовых актов РФ. Огромная база технических нормативов (более 150 тысяч документов) и полное собрание национальных стандартов, аутентичное официальной базе Госстандарта. GOSTRF.com - это более 1 Терабайта бесплатной технической информации для всех пользователей интернета. Все электронные копии представленных здесь документов могут распространяться без каких-либо ограничений. Поощряется распространение информации с этого сайта на любых других ресурсах. Каждый человек имеет право на неограниченный доступ к этим документам! Каждый человек имеет право на знание требований, изложенных в данных нормативно-правовых актах!

  


 

ГОСТ 26007-83

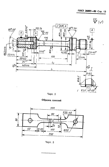
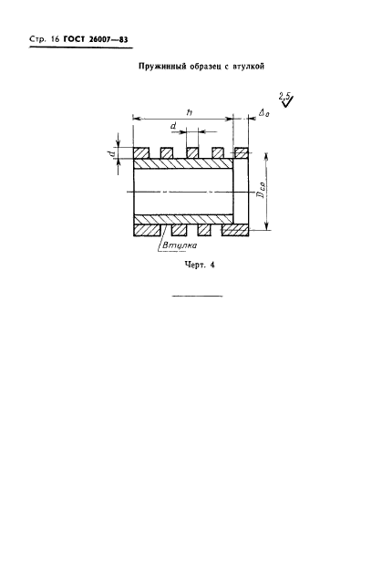
Расчеты и испытания на прочность. Методы механических испытаний металлов. Методы испытания на релаксацию напряжений

Обозначение:ГОСТ 26007-83
Текущий статус документа: действующий
Название документа рус.:Расчеты и испытания на прочность. Методы механических испытаний металлов. Методы испытания на релаксацию напряжений
Название документа англ.:Design, calculation and strength testing. Methods of mechanical testing of metals. Methods for stress relaxation testing
Дата актуализации текста:01.12.2013
Дата издания:26.03.1984
Дата введения:01.01.1985
Дата последнего изменения:22.05.2013
Область применения:Настоящий стандарт устанавливает методы испытаний на релаксацию напряжений при температуре до 1200 град. С при растяжении, изгибе и кручении черных и цветных металлов и сплавов.
Настоящий стандарт не распространяется на элементы конструкций машин, приборов и аппаратов
ГОСТ 26007-83ГОСТ 26007-83ГОСТ 26007-83ГОСТ 26007-83ГОСТ 26007-83ГОСТ 26007-83ГОСТ 26007-83ГОСТ 26007-83ГОСТ 26007-83ГОСТ 26007-83ГОСТ 26007-83ГОСТ 26007-83ГОСТ 26007-83ГОСТ 26007-83ГОСТ 26007-83ГОСТ 26007-83ГОСТ 26007-83ГОСТ 26007-83ГОСТ 26007-83ГОСТ 26007-83
 




ГОСТЫ, СТРОИТЕЛЬНЫЕ и ТЕХНИЧЕСКИЕ НОРМАТИВЫ.
Некоммерческая онлайн система, содержащая все Российские Госты, национальные Стандарты и нормативы.
В Системе содержится более 150000 файлов нормативно-технической документации, действующей на территории РФ.
Система предназначена для широкого круга инженерно-технических специалистов.

Рейтинг@Mail.ru Яндекс цитирования

Copyright © www.gostrf.com, 2008 - 2026