Крупнейшая бесплатная информационно-справочная система онлайн доступа к полному собранию технических нормативно-правовых актов РФ. Огромная база технических нормативов (более 150 тысяч документов) и полное собрание национальных стандартов, аутентичное официальной базе Госстандарта. GOSTRF.com - это более 1 Терабайта бесплатной технической информации для всех пользователей интернета. Все электронные копии представленных здесь документов могут распространяться без каких-либо ограничений. Поощряется распространение информации с этого сайта на любых других ресурсах. Каждый человек имеет право на неограниченный доступ к этим документам! Каждый человек имеет право на знание требований, изложенных в данных нормативно-правовых актах!

  


 

ГОСТ 25159-82

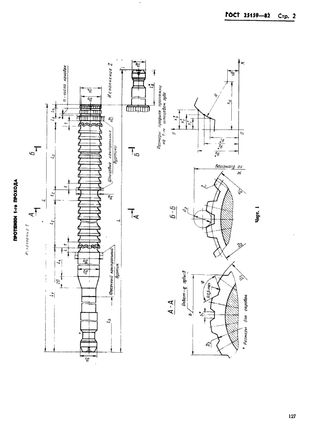
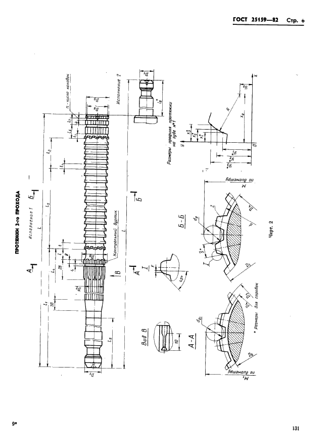
Протяжки для шлицевых отверстий с эвольвентным профилем диаметром от 15 до 90 мм, модулем от 1 до 2,5 мм с центрированием по наружному диаметру двухпроходные. Конструкция и размеры

Обозначение:ГОСТ 25159-82
Текущий статус документа: действующий
Название документа рус.:Протяжки для шлицевых отверстий с эвольвентным профилем диаметром от 15 до 90 мм, модулем от 1 до 2,5 мм с центрированием по наружному диаметру двухпроходные. Конструкция и размеры
Название документа англ.:Broaches with diameter frome 15 to 90 mm for slitting holes with involute profile and centring at outside diameter with modul frome 1 to 2,5 mm, double driven. Construction and dimensions
Дата актуализации текста:01.12.2013
Дата издания:09.06.1982
Дата введения:01.01.1984
Дата последнего изменения:22.05.2013
Область применения:Настоящий стандарт распространяется на двухпроходные протяжки универсального назначения диаметром от 15 до 90 мм, модулем от 1 до 2,5 мм, предназначенные для обработки шлицевых втулок с эвольвентным профилем с центрированием по наружному диаметру
Список изменений:№1 от 01.09.1986 (рег. 28.03.1986) «Срок действия продлен»
№2 от 01.02.1988 (рег. 23.09.1987) «Срок действия продлен»
ГОСТ 25159-82ГОСТ 25159-82ГОСТ 25159-82ГОСТ 25159-82ГОСТ 25159-82ГОСТ 25159-82ГОСТ 25159-82ГОСТ 25159-82ГОСТ 25159-82ГОСТ 25159-82ГОСТ 25159-82ГОСТ 25159-82ГОСТ 25159-82ГОСТ 25159-82ГОСТ 25159-82ГОСТ 25159-82ГОСТ 25159-82
 




ГОСТЫ, СТРОИТЕЛЬНЫЕ и ТЕХНИЧЕСКИЕ НОРМАТИВЫ.
Некоммерческая онлайн система, содержащая все Российские Госты, национальные Стандарты и нормативы.
В Системе содержится более 150000 файлов нормативно-технической документации, действующей на территории РФ.
Система предназначена для широкого круга инженерно-технических специалистов.

Рейтинг@Mail.ru Яндекс цитирования

Copyright © www.gostrf.com, 2008 - 2026