Крупнейшая бесплатная информационно-справочная система онлайн доступа к полному собранию технических нормативно-правовых актов РФ. Огромная база технических нормативов (более 150 тысяч документов) и полное собрание национальных стандартов, аутентичное официальной базе Госстандарта. GOSTRF.com - это более 1 Терабайта бесплатной технической информации для всех пользователей интернета. Все электронные копии представленных здесь документов могут распространяться без каких-либо ограничений. Поощряется распространение информации с этого сайта на любых других ресурсах. Каждый человек имеет право на неограниченный доступ к этим документам! Каждый человек имеет право на знание требований, изложенных в данных нормативно-правовых актах!

  


 

ГОСТ 4907-81

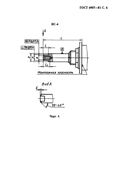
Концы валов управления изделий электронной техники. Виды и основные размеры

Обозначение:ГОСТ 4907-81
Текущий статус документа: действующий
Название документа рус.:Концы валов управления изделий электронной техники. Виды и основные размеры
Название документа англ.: Control spindle ends of electronic components. Types and basic dimensions
Дата актуализации текста:01.12.2013
Дата издания:01.05.1997
Дата введения:30.06.1982
Дата последнего изменения:22.05.2013
Переиздание:переиздание с изм. 1
Область применения:Настоящий стандарт распространяется на концы валов (наружная часть вала, выступающая за элементы крепления) ручного управления поворотных переключателей, переменных резисторов и конденсаторов переменной емкости и устанавливает виды, допускаемые сочетания, основные размеры концов сплошных и полых металлических валов, виды и номинальные размеры концов сплошных неметаллических валов.
Стандарт не распространяется на концы валов ВС-1, ВС-3, ВС-4 длиной менее (10,0 плюс минус 0,45) мм и ВС-2 длиной менее (5,0 плюс минус 0,375) мм
Список изменений:№1 от 01.10.1985 (рег. 05.06.1985) «Срок действия продлен»
№2 от 01.02.1988 (рег. 13.07.1987) «Срок действия продлен»
№3 от 01.11.1988 (рег. 22.07.1988) «Срок действия продлен»
№4 от 01.07.1990 (рег. 13.12.1989) «Срок действия продлен»
№5 от 01.11.1990 (рег. 23.04.1990) «Срок действия продлен»
№6 от 01.01.1993 (рег. 23.09.1992) «Срок действия продлен»
ГОСТ 4907-81ГОСТ 4907-81ГОСТ 4907-81ГОСТ 4907-81ГОСТ 4907-81ГОСТ 4907-81ГОСТ 4907-81ГОСТ 4907-81ГОСТ 4907-81ГОСТ 4907-81ГОСТ 4907-81ГОСТ 4907-81ГОСТ 4907-81ГОСТ 4907-81ГОСТ 4907-81ГОСТ 4907-81
 




ГОСТЫ, СТРОИТЕЛЬНЫЕ и ТЕХНИЧЕСКИЕ НОРМАТИВЫ.
Некоммерческая онлайн система, содержащая все Российские Госты, национальные Стандарты и нормативы.
В Системе содержится более 150000 файлов нормативно-технической документации, действующей на территории РФ.
Система предназначена для широкого круга инженерно-технических специалистов.

Рейтинг@Mail.ru Яндекс цитирования

Copyright © www.gostrf.com, 2008 - 2026