Крупнейшая бесплатная информационно-справочная система онлайн доступа к полному собранию технических нормативно-правовых актов РФ. Огромная база технических нормативов (более 150 тысяч документов) и полное собрание национальных стандартов, аутентичное официальной базе Госстандарта. GOSTRF.com - это более 1 Терабайта бесплатной технической информации для всех пользователей интернета. Все электронные копии представленных здесь документов могут распространяться без каких-либо ограничений. Поощряется распространение информации с этого сайта на любых других ресурсах. Каждый человек имеет право на неограниченный доступ к этим документам! Каждый человек имеет право на знание требований, изложенных в данных нормативно-правовых актах!

  


 

ГОСТ 12301-81

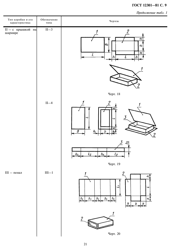
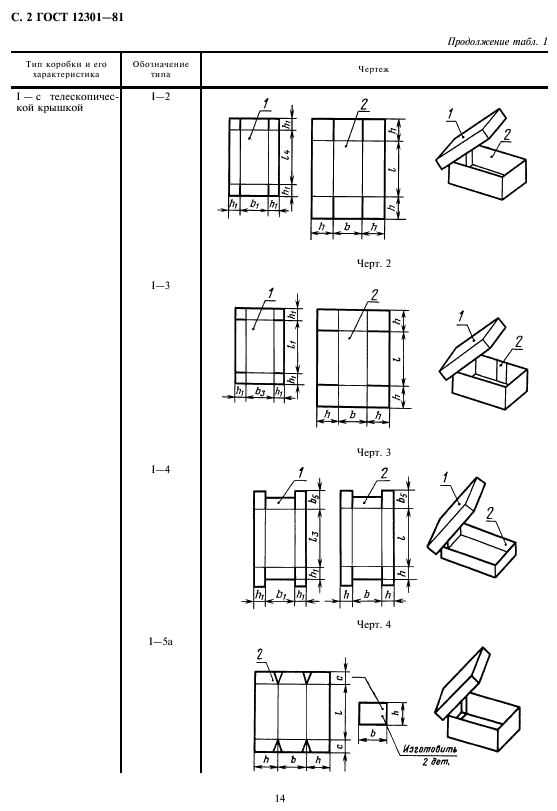
Коробки из картона, бумаги и комбинированных материалов. Общие технические условия

Обозначение:ГОСТ 12301-81
Текущий статус документа: заменён
Название документа рус.:Коробки из картона, бумаги и комбинированных материалов. Общие технические условия
Название документа англ.:Cartons of paperboard, paper and composite materials. General specifications
Дата актуализации текста:01.12.2013
Дата издания:01.03.1999
Дата введения:01.01.1983
Дата последнего изменения:22.05.2013
Дата окончания срока действия:01.01.2008
Переиздание:переиздание с изм. 1
Взамен:
Область применения:Настоящий стандарт распространяется на коробки из картона, бумаги и комбинированных материалов на основе картона и бумаги, предназначенные для упаковывания и хранения промышленной продукции
Список изменений:№1 от 01.04.1984 (рег. 20.12.1983) «Срок действия продлен»
№2 от 01.07.1987 (рег. 23.03.1987) «Срок действия продлен»
№3 от 01.03.1990 (рег. 21.08.1989) «Срок действия продлен»
№4 от 01.07.1994 (рег. 12.05.1994) «Срок действия продлен»
ГОСТ 12301-81ГОСТ 12301-81ГОСТ 12301-81ГОСТ 12301-81ГОСТ 12301-81ГОСТ 12301-81ГОСТ 12301-81ГОСТ 12301-81ГОСТ 12301-81ГОСТ 12301-81ГОСТ 12301-81ГОСТ 12301-81ГОСТ 12301-81ГОСТ 12301-81ГОСТ 12301-81ГОСТ 12301-81ГОСТ 12301-81ГОСТ 12301-81
 




ГОСТЫ, СТРОИТЕЛЬНЫЕ и ТЕХНИЧЕСКИЕ НОРМАТИВЫ.
Некоммерческая онлайн система, содержащая все Российские Госты, национальные Стандарты и нормативы.
В Системе содержится более 150000 файлов нормативно-технической документации, действующей на территории РФ.
Система предназначена для широкого круга инженерно-технических специалистов.

Рейтинг@Mail.ru Яндекс цитирования

Copyright © www.gostrf.com, 2008 - 2026