Крупнейшая бесплатная информационно-справочная система онлайн доступа к полному собранию технических нормативно-правовых актов РФ. Огромная база технических нормативов (более 150 тысяч документов) и полное собрание национальных стандартов, аутентичное официальной базе Госстандарта. GOSTRF.com - это более 1 Терабайта бесплатной технической информации для всех пользователей интернета. Все электронные копии представленных здесь документов могут распространяться без каких-либо ограничений. Поощряется распространение информации с этого сайта на любых других ресурсах. Каждый человек имеет право на неограниченный доступ к этим документам! Каждый человек имеет право на знание требований, изложенных в данных нормативно-правовых актах!

  


 

ГОСТ 17752-81

Гидропривод объемный и пневмопривод. Термины и определения

Обозначение:ГОСТ 17752-81
Текущий статус документа: действующий
Название документа рус.:Гидропривод объемный и пневмопривод. Термины и определения
Название документа англ.:Hydraulic and pneumatic drive. Terms and definitions
Дата актуализации текста:01.12.2013
Дата издания:01.01.1988
Дата введения:01.01.1982
Дата последнего изменения:22.05.2013
Переиздание:переиздание с изм. 1
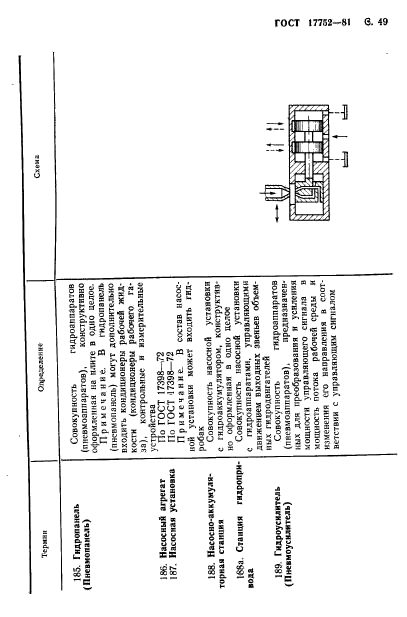
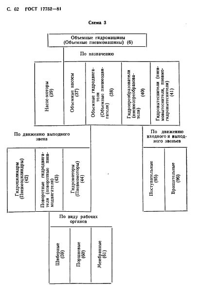
Область применения:Настоящий стандарт устанавливает основные термины и определения в области объемных гидроприводов и пневмоприводов.
Установленные настоящим стандартом термины обязательны для применения в документации всех видов, научно-технической, учебной и справочной литературе
Список изменений:№1 от 01.01.1985 (рег. 05.03.1984) «Срок действия продлен»
№2 от 01.01.1987 (рег. 09.07.1986) «Срок действия продлен»
ГОСТ 17752-81ГОСТ 17752-81ГОСТ 17752-81ГОСТ 17752-81ГОСТ 17752-81ГОСТ 17752-81ГОСТ 17752-81ГОСТ 17752-81ГОСТ 17752-81ГОСТ 17752-81ГОСТ 17752-81ГОСТ 17752-81ГОСТ 17752-81ГОСТ 17752-81ГОСТ 17752-81ГОСТ 17752-81ГОСТ 17752-81ГОСТ 17752-81ГОСТ 17752-81ГОСТ 17752-81ГОСТ 17752-81ГОСТ 17752-81ГОСТ 17752-81ГОСТ 17752-81ГОСТ 17752-81ГОСТ 17752-81ГОСТ 17752-81ГОСТ 17752-81ГОСТ 17752-81ГОСТ 17752-81ГОСТ 17752-81ГОСТ 17752-81ГОСТ 17752-81ГОСТ 17752-81ГОСТ 17752-81ГОСТ 17752-81ГОСТ 17752-81ГОСТ 17752-81ГОСТ 17752-81ГОСТ 17752-81ГОСТ 17752-81ГОСТ 17752-81ГОСТ 17752-81ГОСТ 17752-81ГОСТ 17752-81ГОСТ 17752-81ГОСТ 17752-81ГОСТ 17752-81ГОСТ 17752-81ГОСТ 17752-81ГОСТ 17752-81ГОСТ 17752-81ГОСТ 17752-81ГОСТ 17752-81ГОСТ 17752-81ГОСТ 17752-81ГОСТ 17752-81ГОСТ 17752-81ГОСТ 17752-81ГОСТ 17752-81ГОСТ 17752-81ГОСТ 17752-81ГОСТ 17752-81ГОСТ 17752-81ГОСТ 17752-81ГОСТ 17752-81ГОСТ 17752-81ГОСТ 17752-81ГОСТ 17752-81ГОСТ 17752-81ГОСТ 17752-81ГОСТ 17752-81ГОСТ 17752-81
 




ГОСТЫ, СТРОИТЕЛЬНЫЕ и ТЕХНИЧЕСКИЕ НОРМАТИВЫ.
Некоммерческая онлайн система, содержащая все Российские Госты, национальные Стандарты и нормативы.
В Системе содержится более 150000 файлов нормативно-технической документации, действующей на территории РФ.
Система предназначена для широкого круга инженерно-технических специалистов.

Рейтинг@Mail.ru Яндекс цитирования

Copyright © www.gostrf.com, 2008 - 2026