Крупнейшая бесплатная информационно-справочная система онлайн доступа к полному собранию технических нормативно-правовых актов РФ. Огромная база технических нормативов (более 150 тысяч документов) и полное собрание национальных стандартов, аутентичное официальной базе Госстандарта. GOSTRF.com - это более 1 Терабайта бесплатной технической информации для всех пользователей интернета. Все электронные копии представленных здесь документов могут распространяться без каких-либо ограничений. Поощряется распространение информации с этого сайта на любых других ресурсах. Каждый человек имеет право на неограниченный доступ к этим документам! Каждый человек имеет право на знание требований, изложенных в данных нормативно-правовых актах!

  


 

ГОСТ 17588-81

Оборудование литейное. Машины для литья под давлением. Размеры присоединительные для крепления пресс-форм

Обозначение:ГОСТ 17588-81
Текущий статус документа: действующий
Название документа рус.:Оборудование литейное. Машины для литья под давлением. Размеры присоединительные для крепления пресс-форм
Название документа англ.:Foundry equipment. Die casting machines. Mounting dimensions for die fixing
Дата актуализации текста:01.12.2013
Дата издания:01.11.1999
Дата введения:30.06.1982
Дата последнего изменения:22.05.2013
Переиздание:переиздание с изм. 1
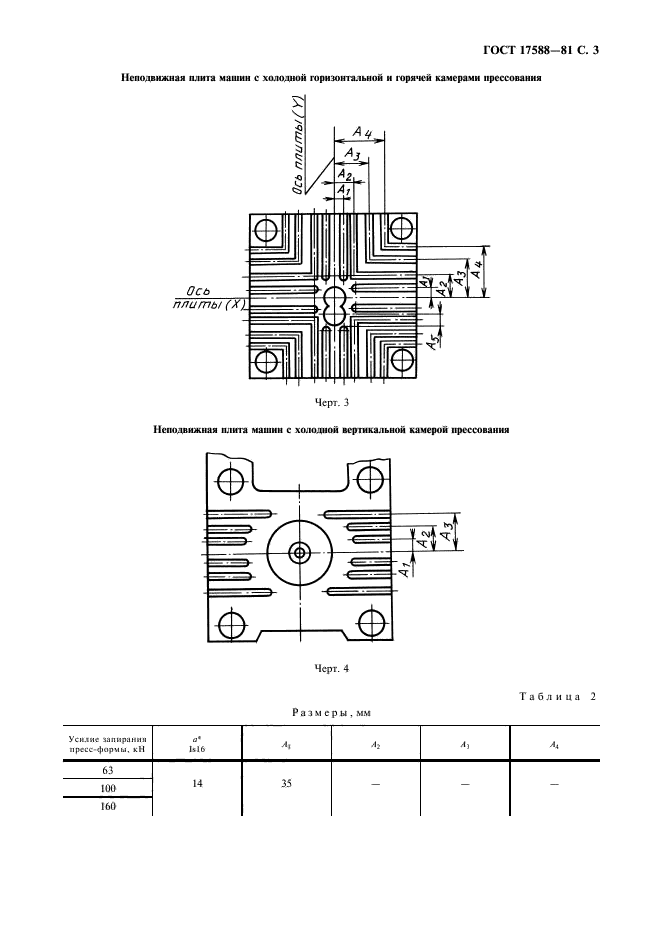
Область применения:Настоящий стандарт распространяется на вновь проектируемые и модернизируемые машины для литья под давлением по ГОСТ 15595 с холодной горизонтальной камерой прессования с усилием запирания до 16000 кН и с холодной вертикальной и горячей камерами прессования с усилием запирания до 4000 кН, предназначенные для серийного производства, и устанавливает присоединительные размеры для крепления пресс-форм
Список изменений:№1 от 01.07.1989 (рег. 12.05.1988) «Поправка»
ГОСТ 17588-81ГОСТ 17588-81ГОСТ 17588-81ГОСТ 17588-81ГОСТ 17588-81ГОСТ 17588-81ГОСТ 17588-81
 




ГОСТЫ, СТРОИТЕЛЬНЫЕ и ТЕХНИЧЕСКИЕ НОРМАТИВЫ.
Некоммерческая онлайн система, содержащая все Российские Госты, национальные Стандарты и нормативы.
В Системе содержится более 150000 файлов нормативно-технической документации, действующей на территории РФ.
Система предназначена для широкого круга инженерно-технических специалистов.

Рейтинг@Mail.ru Яндекс цитирования

Copyright © www.gostrf.com, 2008 - 2026