Крупнейшая бесплатная информационно-справочная система онлайн доступа к полному собранию технических нормативно-правовых актов РФ. Огромная база технических нормативов (более 150 тысяч документов) и полное собрание национальных стандартов, аутентичное официальной базе Госстандарта. GOSTRF.com - это более 1 Терабайта бесплатной технической информации для всех пользователей интернета. Все электронные копии представленных здесь документов могут распространяться без каких-либо ограничений. Поощряется распространение информации с этого сайта на любых других ресурсах. Каждый человек имеет право на неограниченный доступ к этим документам! Каждый человек имеет право на знание требований, изложенных в данных нормативно-правовых актах!

  


 

ГОСТ 9581-80

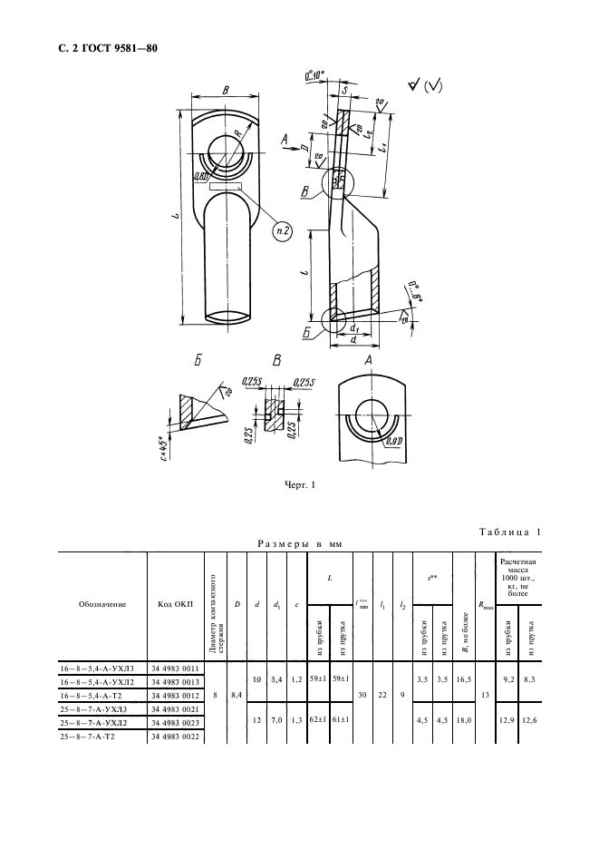
Наконечники кабельные алюминиевые и медно-алюминиевые, закрепляемые опрессовкой. Конструкция и размеры

Обозначение:ГОСТ 9581-80
Текущий статус документа: действующий
Название документа рус.:Наконечники кабельные алюминиевые и медно-алюминиевые, закрепляемые опрессовкой. Конструкция и размеры
Название документа англ.:Aluminium and copper-aluminium pressfastened thimbles. Construction and sizes
Дата актуализации текста:01.12.2013
Дата издания:01.07.2003
Дата введения:01.01.1983
Дата последнего изменения:22.05.2013
Переиздание:переиздание с изм. 1
Область применения:Настоящий стандарт распространяется на алюминиевые и медно-алюминиевые кабельные наконечники, закрепляемые опрессовкой и предназначенные для оконцевания проводов и кабелей с алюминиевыми жилами сечением от 16 до 300 мм кв. на напряжение до 35 кВ
Список изменений:№1 от 01.02.1984 (рег. 31.08.1983) «Срок действия продлен»
№2 от 01.01.1988 (рег. 16.06.1987) «Срок действия продлен»
№3 от 01.06.1997 (рег. 20.02.1997) «Срок действия продлен»
№4 от 01.08.2002 (рег. 14.02.2002) «Текстовое изменение; Изменены ссылочные НД»
Приложение №1:Изменение №4 к ГОСТ 9581-80
ГОСТ 9581-80ГОСТ 9581-80ГОСТ 9581-80ГОСТ 9581-80ГОСТ 9581-80ГОСТ 9581-80ГОСТ 9581-80ГОСТ 9581-80ГОСТ 9581-80ГОСТ 9581-80ГОСТ 9581-80

Изменение №4 к ГОСТ 9581-80

Обозначение:Изменение №4 к ГОСТ 9581-80
Дата введения:01.08.2002


Изменение №4 к ГОСТ 9581-80
 




ГОСТЫ, СТРОИТЕЛЬНЫЕ и ТЕХНИЧЕСКИЕ НОРМАТИВЫ.
Некоммерческая онлайн система, содержащая все Российские Госты, национальные Стандарты и нормативы.
В Системе содержится более 150000 файлов нормативно-технической документации, действующей на территории РФ.
Система предназначена для широкого круга инженерно-технических специалистов.

Рейтинг@Mail.ru Яндекс цитирования

Copyright © www.gostrf.com, 2008 - 2026