Крупнейшая бесплатная информационно-справочная система онлайн доступа к полному собранию технических нормативно-правовых актов РФ. Огромная база технических нормативов (более 150 тысяч документов) и полное собрание национальных стандартов, аутентичное официальной базе Госстандарта. GOSTRF.com - это более 1 Терабайта бесплатной технической информации для всех пользователей интернета. Все электронные копии представленных здесь документов могут распространяться без каких-либо ограничений. Поощряется распространение информации с этого сайта на любых других ресурсах. Каждый человек имеет право на неограниченный доступ к этим документам! Каждый человек имеет право на знание требований, изложенных в данных нормативно-правовых актах!

  


 

ГОСТ 24516-80

Пакеты быстросменные с горизонтальным разъемом пресс-форм для изготовления резиновых колец круглого сечения. Конструкция и размеры

Обозначение:ГОСТ 24516-80
Текущий статус документа: действующий
Название документа рус.:Пакеты быстросменные с горизонтальным разъемом пресс-форм для изготовления резиновых колец круглого сечения. Конструкция и размеры
Название документа англ.:Packets quick-changing with horisontal break of press-moulds for manufacturing of rubber O-rings section. Construction and dimensions
Дата актуализации текста:01.12.2013
Дата издания:01.01.1982
Дата введения:01.01.1983
Дата последнего изменения:22.05.2013
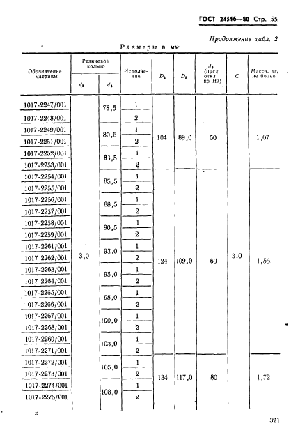
Область применения:Настоящий стандарт распространяется на быстросменные пакеты с горизонтальным разъемом ( угол разъема 180 град.) компрессионных универсальных пресс-форм для изготовления из резиновых смесей с процентом усадки до 4,3 резиновых уплотнительных колец круглого сечения с внутренними диаметрами от 10,0 до 116,0 мм и диаметрами сечения от 1,9 до 7,5 мм
Список изменений:№1 от 01.01.1989 (рег. 24.06.1988) «Срок действия продлен»
ГОСТ 24516-80ГОСТ 24516-80ГОСТ 24516-80ГОСТ 24516-80ГОСТ 24516-80ГОСТ 24516-80ГОСТ 24516-80ГОСТ 24516-80ГОСТ 24516-80ГОСТ 24516-80ГОСТ 24516-80ГОСТ 24516-80ГОСТ 24516-80ГОСТ 24516-80ГОСТ 24516-80ГОСТ 24516-80ГОСТ 24516-80ГОСТ 24516-80ГОСТ 24516-80ГОСТ 24516-80ГОСТ 24516-80ГОСТ 24516-80ГОСТ 24516-80ГОСТ 24516-80ГОСТ 24516-80ГОСТ 24516-80ГОСТ 24516-80ГОСТ 24516-80ГОСТ 24516-80ГОСТ 24516-80ГОСТ 24516-80ГОСТ 24516-80ГОСТ 24516-80ГОСТ 24516-80ГОСТ 24516-80ГОСТ 24516-80ГОСТ 24516-80ГОСТ 24516-80ГОСТ 24516-80ГОСТ 24516-80ГОСТ 24516-80ГОСТ 24516-80ГОСТ 24516-80ГОСТ 24516-80ГОСТ 24516-80ГОСТ 24516-80ГОСТ 24516-80ГОСТ 24516-80ГОСТ 24516-80ГОСТ 24516-80ГОСТ 24516-80ГОСТ 24516-80ГОСТ 24516-80ГОСТ 24516-80ГОСТ 24516-80ГОСТ 24516-80ГОСТ 24516-80ГОСТ 24516-80ГОСТ 24516-80ГОСТ 24516-80ГОСТ 24516-80ГОСТ 24516-80ГОСТ 24516-80ГОСТ 24516-80ГОСТ 24516-80ГОСТ 24516-80ГОСТ 24516-80ГОСТ 24516-80ГОСТ 24516-80ГОСТ 24516-80ГОСТ 24516-80ГОСТ 24516-80ГОСТ 24516-80ГОСТ 24516-80ГОСТ 24516-80ГОСТ 24516-80ГОСТ 24516-80ГОСТ 24516-80ГОСТ 24516-80ГОСТ 24516-80ГОСТ 24516-80ГОСТ 24516-80ГОСТ 24516-80ГОСТ 24516-80ГОСТ 24516-80ГОСТ 24516-80ГОСТ 24516-80ГОСТ 24516-80
 




ГОСТЫ, СТРОИТЕЛЬНЫЕ и ТЕХНИЧЕСКИЕ НОРМАТИВЫ.
Некоммерческая онлайн система, содержащая все Российские Госты, национальные Стандарты и нормативы.
В Системе содержится более 150000 файлов нормативно-технической документации, действующей на территории РФ.
Система предназначена для широкого круга инженерно-технических специалистов.

Рейтинг@Mail.ru Яндекс цитирования

Copyright © www.gostrf.com, 2008 - 2026