Крупнейшая бесплатная информационно-справочная система онлайн доступа к полному собранию технических нормативно-правовых актов РФ. Огромная база технических нормативов (более 150 тысяч документов) и полное собрание национальных стандартов, аутентичное официальной базе Госстандарта. GOSTRF.com - это более 1 Терабайта бесплатной технической информации для всех пользователей интернета. Все электронные копии представленных здесь документов могут распространяться без каких-либо ограничений. Поощряется распространение информации с этого сайта на любых других ресурсах. Каждый человек имеет право на неограниченный доступ к этим документам! Каждый человек имеет право на знание требований, изложенных в данных нормативно-правовых актах!

  


 

ГОСТ 24366-80

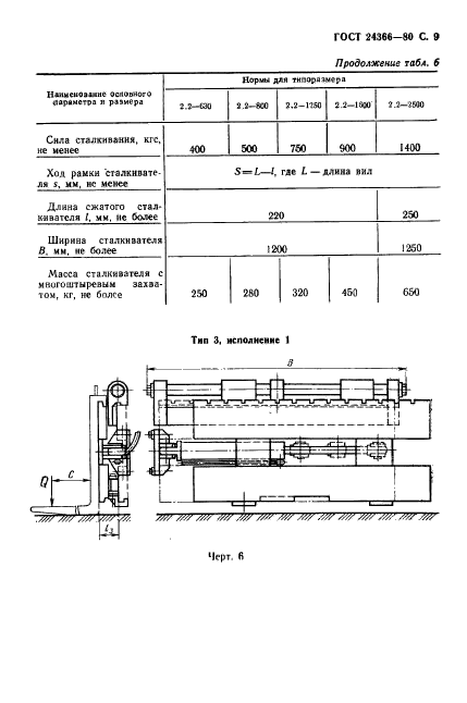
Авто- и электропогрузчики вилочные общего назначения. Грузозахватные приспособления. Общие технические условия

Обозначение:ГОСТ 24366-80
Текущий статус документа: действующий
Название документа рус.:Авто- и электропогрузчики вилочные общего назначения. Грузозахватные приспособления. Общие технические условия
Название документа англ.:General-purpose fork-lift auto- and electric loaders. Loadcatching devices. General specifications
Дата актуализации текста:01.12.2013
Дата издания:01.04.1992
Дата введения:01.01.1982
Дата последнего изменения:22.05.2013
Переиздание:переиздание с изм. 1
Область применения:Настоящий стандарт распространяется на навесные грузозахватные приспособления к авто- и электропогрузчикам общего назначения, изготовляемые для нужд народного хозяйства и на экспорт.
Стандарт не распространяется на вспомогательные грузозахватные приспособления (крюки, петли, многоветьевые стропы на траверсе, бадьи и др.), специальные грузозахватные приспособления (эксцентриковые, электромагнитные, вакуумные и др.), поставляемые на производство до введения настоящего стандарта
Список изменений:№1 от 01.07.1986 (рег. 20.12.1985) «Срок действия продлен»
№2 от 01.01.1990 (рег. 20.03.1989) «Срок действия продлен»
ГОСТ 24366-80ГОСТ 24366-80ГОСТ 24366-80ГОСТ 24366-80ГОСТ 24366-80ГОСТ 24366-80ГОСТ 24366-80ГОСТ 24366-80ГОСТ 24366-80ГОСТ 24366-80ГОСТ 24366-80ГОСТ 24366-80ГОСТ 24366-80ГОСТ 24366-80ГОСТ 24366-80ГОСТ 24366-80ГОСТ 24366-80ГОСТ 24366-80ГОСТ 24366-80ГОСТ 24366-80ГОСТ 24366-80ГОСТ 24366-80ГОСТ 24366-80ГОСТ 24366-80ГОСТ 24366-80ГОСТ 24366-80ГОСТ 24366-80ГОСТ 24366-80ГОСТ 24366-80ГОСТ 24366-80ГОСТ 24366-80ГОСТ 24366-80ГОСТ 24366-80ГОСТ 24366-80
 




ГОСТЫ, СТРОИТЕЛЬНЫЕ и ТЕХНИЧЕСКИЕ НОРМАТИВЫ.
Некоммерческая онлайн система, содержащая все Российские Госты, национальные Стандарты и нормативы.
В Системе содержится более 150000 файлов нормативно-технической документации, действующей на территории РФ.
Система предназначена для широкого круга инженерно-технических специалистов.

Рейтинг@Mail.ru Яндекс цитирования

Copyright © www.gostrf.com, 2008 - 2026