Крупнейшая бесплатная информационно-справочная система онлайн доступа к полному собранию технических нормативно-правовых актов РФ. Огромная база технических нормативов (более 150 тысяч документов) и полное собрание национальных стандартов, аутентичное официальной базе Госстандарта. GOSTRF.com - это более 1 Терабайта бесплатной технической информации для всех пользователей интернета. Все электронные копии представленных здесь документов могут распространяться без каких-либо ограничений. Поощряется распространение информации с этого сайта на любых других ресурсах. Каждый человек имеет право на неограниченный доступ к этим документам! Каждый человек имеет право на знание требований, изложенных в данных нормативно-правовых актах!

  


 

ГОСТ 633-80

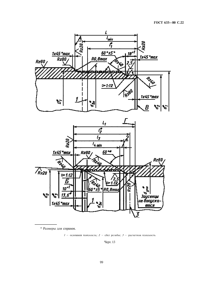
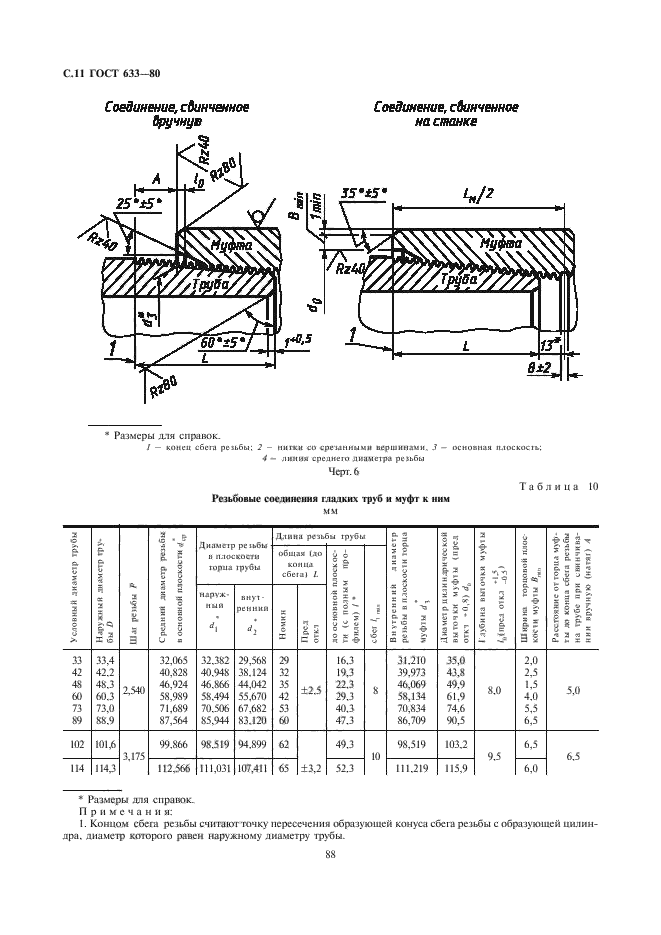
Трубы насосно-компрессорные и муфты к ним. Технические условия

Обозначение:ГОСТ 633-80
Текущий статус документа: действующий
Название документа рус.:Трубы насосно-компрессорные и муфты к ним. Технические условия
Название документа англ.:Tubing pipes and couplings for them. Specifications
Дата актуализации текста:01.12.2013
Дата издания:28.05.2010
Дата введения:01.01.1983
Дата последнего изменения:22.05.2013
Переиздание:переиздание с изм. 1
Область применения:Настоящий стандарт распространяется на стальные бесшовные насосно-компрессорные трубы гладкие и муфты к ним, с высаженными наружу концами и муфты к ним, гладкие высокогерметичные и муфты к ним, а также безмуфтовые трубы с высаженными наружу концами, применяемые для эксплуатации нефтяных и газовых скважин
Список изменений:№1 от 01.01.1984 (рег. 02.08.1983) «Срок действия продлен»
№2 от 01.08.1986 (рег. 24.01.1986) «Срок действия продлен»
№3 от 01.06.1988 (рег. 22.12.1987) «Срок действия продлен»
ГОСТ 633-80ГОСТ 633-80ГОСТ 633-80ГОСТ 633-80ГОСТ 633-80ГОСТ 633-80ГОСТ 633-80ГОСТ 633-80ГОСТ 633-80ГОСТ 633-80ГОСТ 633-80ГОСТ 633-80ГОСТ 633-80ГОСТ 633-80ГОСТ 633-80ГОСТ 633-80ГОСТ 633-80ГОСТ 633-80ГОСТ 633-80ГОСТ 633-80ГОСТ 633-80ГОСТ 633-80ГОСТ 633-80ГОСТ 633-80ГОСТ 633-80ГОСТ 633-80ГОСТ 633-80ГОСТ 633-80ГОСТ 633-80ГОСТ 633-80ГОСТ 633-80ГОСТ 633-80
 




ГОСТЫ, СТРОИТЕЛЬНЫЕ и ТЕХНИЧЕСКИЕ НОРМАТИВЫ.
Некоммерческая онлайн система, содержащая все Российские Госты, национальные Стандарты и нормативы.
В Системе содержится более 150000 файлов нормативно-технической документации, действующей на территории РФ.
Система предназначена для широкого круга инженерно-технических специалистов.

Рейтинг@Mail.ru Яндекс цитирования

Copyright © www.gostrf.com, 2008 - 2026