Крупнейшая бесплатная информационно-справочная система онлайн доступа к полному собранию технических нормативно-правовых актов РФ. Огромная база технических нормативов (более 150 тысяч документов) и полное собрание национальных стандартов, аутентичное официальной базе Госстандарта. GOSTRF.com - это более 1 Терабайта бесплатной технической информации для всех пользователей интернета. Все электронные копии представленных здесь документов могут распространяться без каких-либо ограничений. Поощряется распространение информации с этого сайта на любых других ресурсах. Каждый человек имеет право на неограниченный доступ к этим документам! Каждый человек имеет право на знание требований, изложенных в данных нормативно-правовых актах!

  


 

ГОСТ 14953-80

Зенковки конические. Технические условия

Обозначение:ГОСТ 14953-80
Текущий статус документа: действующий
Название документа рус.:Зенковки конические. Технические условия
Название документа англ.:Taper countersinks. Specifications
Дата актуализации текста:01.12.2013
Дата издания:01.08.2003
Дата введения:01.01.1982
Дата последнего изменения:22.05.2013
Переиздание:переиздание с изм. 1
Взамен: МН 725-60
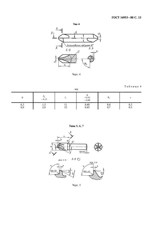
Область применения:Настоящий стандарт распространяется на конические зенковки для обработки центровых отверстий по ГОСТ 14034-74 и конические зенковки с углом при вершине 90 град. для обработки конических опорных поверхностей по ГОСТ 12876-67, изготовляемые для нужд народного хозяйства и для экспорта
Список изменений:№1 от 01.07.1987 (рег. 19.12.1986) «Срок действия продлен»
№2 от 01.10.1989 (рег. 16.03.1989) «Срок действия продлен»
ГОСТ 14953-80ГОСТ 14953-80ГОСТ 14953-80ГОСТ 14953-80ГОСТ 14953-80ГОСТ 14953-80ГОСТ 14953-80ГОСТ 14953-80ГОСТ 14953-80ГОСТ 14953-80ГОСТ 14953-80ГОСТ 14953-80ГОСТ 14953-80ГОСТ 14953-80ГОСТ 14953-80ГОСТ 14953-80ГОСТ 14953-80ГОСТ 14953-80
 




ГОСТЫ, СТРОИТЕЛЬНЫЕ и ТЕХНИЧЕСКИЕ НОРМАТИВЫ.
Некоммерческая онлайн система, содержащая все Российские Госты, национальные Стандарты и нормативы.
В Системе содержится более 150000 файлов нормативно-технической документации, действующей на территории РФ.
Система предназначена для широкого круга инженерно-технических специалистов.

Рейтинг@Mail.ru Яндекс цитирования

Copyright © www.gostrf.com, 2008 - 2026