Крупнейшая бесплатная информационно-справочная система онлайн доступа к полному собранию технических нормативно-правовых актов РФ. Огромная база технических нормативов (более 150 тысяч документов) и полное собрание национальных стандартов, аутентичное официальной базе Госстандарта. GOSTRF.com - это более 1 Терабайта бесплатной технической информации для всех пользователей интернета. Все электронные копии представленных здесь документов могут распространяться без каких-либо ограничений. Поощряется распространение информации с этого сайта на любых других ресурсах. Каждый человек имеет право на неограниченный доступ к этим документам! Каждый человек имеет право на знание требований, изложенных в данных нормативно-правовых актах!

  


 

ГОСТ 9731-79

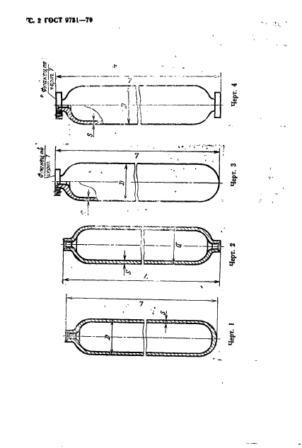
Баллоны стальные бесшовные большого объема для газов Рр<= 24,5 МПа (250 кгс/кв.см). Технические условия

Обозначение:ГОСТ 9731-79
Текущий статус документа: действующий
Название документа рус.:Баллоны стальные бесшовные большого объема для газов Рр<= 24,5 МПа (250 кгс/кв.см). Технические условия
Название документа англ.:Steel seamless cylinders of large capacity for gases for Pw <= 24,5 MPa (250 kgf/cm2). Specifications
Дата актуализации текста:01.12.2013
Дата издания:01.05.1994
Дата введения:01.01.1981
Дата последнего изменения:22.05.2013
Переиздание:переиздание с изм. 1
Область применения:Настоящий стандарт распространяется на баллоны из углеродистой и легированной стали, изготовленные из бесшовных труб и предназначенные для хранения и транспортирования сжатых и сжиженных газов при температуре окружающей среды от минус 50 до плюс 60 град. С
Список изменений:№0 от 18.04.2002 (рег. 18.04.2002) «Дата введения перенесена»
№1 от 01.07.1986 (рег. 27.12.1985) «Поправка»
№2 от 01.01.1991 (рег. 22.06.1990) «Срок действия продлен»
Приложение №1:Поправка к ГОСТ 9731-79
ГОСТ 9731-79ГОСТ 9731-79ГОСТ 9731-79ГОСТ 9731-79ГОСТ 9731-79ГОСТ 9731-79ГОСТ 9731-79ГОСТ 9731-79ГОСТ 9731-79ГОСТ 9731-79ГОСТ 9731-79ГОСТ 9731-79ГОСТ 9731-79ГОСТ 9731-79ГОСТ 9731-79ГОСТ 9731-79

Поправка к ГОСТ 9731-79

Обозначение:Поправка к ГОСТ 9731-79
Дата введения:18.04.2002


Поправка к ГОСТ 9731-79
 




ГОСТЫ, СТРОИТЕЛЬНЫЕ и ТЕХНИЧЕСКИЕ НОРМАТИВЫ.
Некоммерческая онлайн система, содержащая все Российские Госты, национальные Стандарты и нормативы.
В Системе содержится более 150000 файлов нормативно-технической документации, действующей на территории РФ.
Система предназначена для широкого круга инженерно-технических специалистов.

Рейтинг@Mail.ru Яндекс цитирования

Copyright © www.gostrf.com, 2008 - 2026