Крупнейшая бесплатная информационно-справочная система онлайн доступа к полному собранию технических нормативно-правовых актов РФ. Огромная база технических нормативов (более 150 тысяч документов) и полное собрание национальных стандартов, аутентичное официальной базе Госстандарта. GOSTRF.com - это более 1 Терабайта бесплатной технической информации для всех пользователей интернета. Все электронные копии представленных здесь документов могут распространяться без каких-либо ограничений. Поощряется распространение информации с этого сайта на любых других ресурсах. Каждый человек имеет право на неограниченный доступ к этим документам! Каждый человек имеет право на знание требований, изложенных в данных нормативно-правовых актах!

  


 

ГОСТ 12268-79

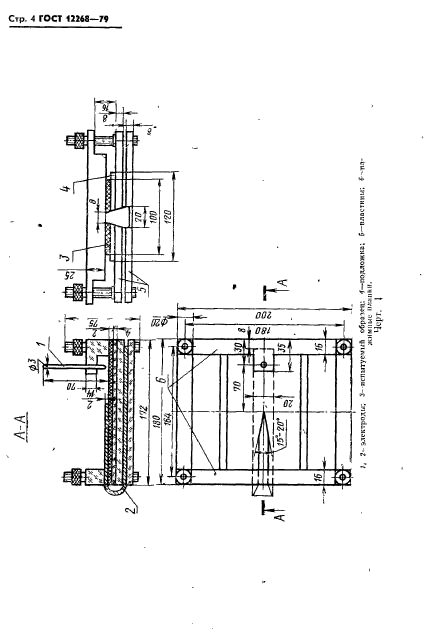
Картон электроизоляционный. Методы определения стойкости к воздействию испытательного напряжения, поверхностных разрядов и сжимаемости под давлением

Обозначение:ГОСТ 12268-79
Текущий статус документа: действующий
Название документа рус.:Картон электроизоляционный. Методы определения стойкости к воздействию испытательного напряжения, поверхностных разрядов и сжимаемости под давлением
Название документа англ.:Electrical insulating board. Methods for determination of test voltage resistance, surface discharge resistance and compressibility under pressure
Дата актуализации текста:01.12.2013
Дата издания:01.07.1985
Дата введения:01.01.1980
Дата последнего изменения:22.05.2013
Переиздание:переиздание с изм. 1
Область применения:Настоящий стандарт распространяется на электроизоляционный картон, предназначенный для изоляции в масляных трансформаторах и аналогичных аппаратах с масляным заполнением, и устанавливает следующие методы испытаний:
определение стойкости картона к воздействию испытательного напряжения переменного тока частотой 50 Гц перпендикулярно к поверхности;
определение стойкости картона к воздействию поверхностных разрядов в трансформаторном масле при частоте 50 Гц;
определение сжимаемости картона после сушки под давлением на воздухе;
определение сжимаемости картона под давлением в трансформаторном масле;
определение сжимаемости картона до сушки под давлением на воздухе;
определение остаточной деформации после снятия давления
Список изменений:№1 от 01.01.1985 (рег. 29.06.1984) «Срок действия продлен»
ГОСТ 12268-79ГОСТ 12268-79ГОСТ 12268-79ГОСТ 12268-79ГОСТ 12268-79ГОСТ 12268-79ГОСТ 12268-79ГОСТ 12268-79ГОСТ 12268-79ГОСТ 12268-79ГОСТ 12268-79
 




ГОСТЫ, СТРОИТЕЛЬНЫЕ и ТЕХНИЧЕСКИЕ НОРМАТИВЫ.
Некоммерческая онлайн система, содержащая все Российские Госты, национальные Стандарты и нормативы.
В Системе содержится более 150000 файлов нормативно-технической документации, действующей на территории РФ.
Система предназначена для широкого круга инженерно-технических специалистов.

Рейтинг@Mail.ru Яндекс цитирования

Copyright © www.gostrf.com, 2008 - 2026