Крупнейшая бесплатная информационно-справочная система онлайн доступа к полному собранию технических нормативно-правовых актов РФ. Огромная база технических нормативов (более 150 тысяч документов) и полное собрание национальных стандартов, аутентичное официальной базе Госстандарта. GOSTRF.com - это более 1 Терабайта бесплатной технической информации для всех пользователей интернета. Все электронные копии представленных здесь документов могут распространяться без каких-либо ограничений. Поощряется распространение информации с этого сайта на любых других ресурсах. Каждый человек имеет право на неограниченный доступ к этим документам! Каждый человек имеет право на знание требований, изложенных в данных нормативно-правовых актах!

  


 

ГОСТ 23863-79

Продукты лесохимические. Методы определения температуры размягчения

Обозначение:ГОСТ 23863-79
Текущий статус документа: действующий
Название документа рус.:Продукты лесохимические. Методы определения температуры размягчения
Название документа англ.:Wood chemical products. Methods for determination of the softening temperature
Дата актуализации текста:01.12.2013
Дата издания:01.02.1997
Дата введения:01.01.1981
Дата последнего изменения:22.05.2013
Переиздание:переиздание с изм. 1
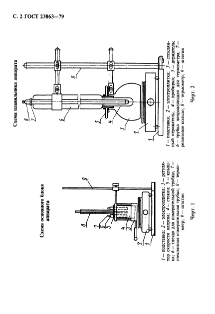
Область применения:Настоящий стандарт распространяется на лесохимические продукты и устанавливает методы определения температуры размягчения канифоли и ее производных:
метод А - определение на аппарате типа ИКАР с помощью трубки и стержня;
метод Б - определение по кольцу и шару.
Методы основаны на определении температуры, при которой происходит выдавливание продукта под действием груза определенной массы вследствие его нагрева и размягчения
Список изменений:№1 от 01.10.1985 (рег. 10.04.1987) «Срок действия продлен»
№2 от 01.10.1992 (рег. 30.03.1992) «Поправка»
ГОСТ 23863-79ГОСТ 23863-79ГОСТ 23863-79ГОСТ 23863-79ГОСТ 23863-79ГОСТ 23863-79ГОСТ 23863-79ГОСТ 23863-79ГОСТ 23863-79ГОСТ 23863-79
 




ГОСТЫ, СТРОИТЕЛЬНЫЕ и ТЕХНИЧЕСКИЕ НОРМАТИВЫ.
Некоммерческая онлайн система, содержащая все Российские Госты, национальные Стандарты и нормативы.
В Системе содержится более 150000 файлов нормативно-технической документации, действующей на территории РФ.
Система предназначена для широкого круга инженерно-технических специалистов.

Рейтинг@Mail.ru Яндекс цитирования

Copyright © www.gostrf.com, 2008 - 2026