Крупнейшая бесплатная информационно-справочная система онлайн доступа к полному собранию технических нормативно-правовых актов РФ. Огромная база технических нормативов (более 150 тысяч документов) и полное собрание национальных стандартов, аутентичное официальной базе Госстандарта. GOSTRF.com - это более 1 Терабайта бесплатной технической информации для всех пользователей интернета. Все электронные копии представленных здесь документов могут распространяться без каких-либо ограничений. Поощряется распространение информации с этого сайта на любых других ресурсах. Каждый человек имеет право на неограниченный доступ к этим документам! Каждый человек имеет право на знание требований, изложенных в данных нормативно-правовых актах!

  


 

ГОСТ 23585-79

Монтаж электрический радиоэлектронной аппаратуры и приборов. Технические требования к разделке и соединению экранов проводов

Обозначение:ГОСТ 23585-79
Текущий статус документа: действующий
Название документа рус.:Монтаж электрический радиоэлектронной аппаратуры и приборов. Технические требования к разделке и соединению экранов проводов
Название документа англ.:Mounting of electric and radioelectronic equipment and instruments. Technical requirements for wire screens termination and connection
Дата актуализации текста:01.12.2013
Дата издания:01.02.1998
Дата введения:30.06.1980
Дата последнего изменения:22.05.2013
Переиздание:переиздание с изм. 1
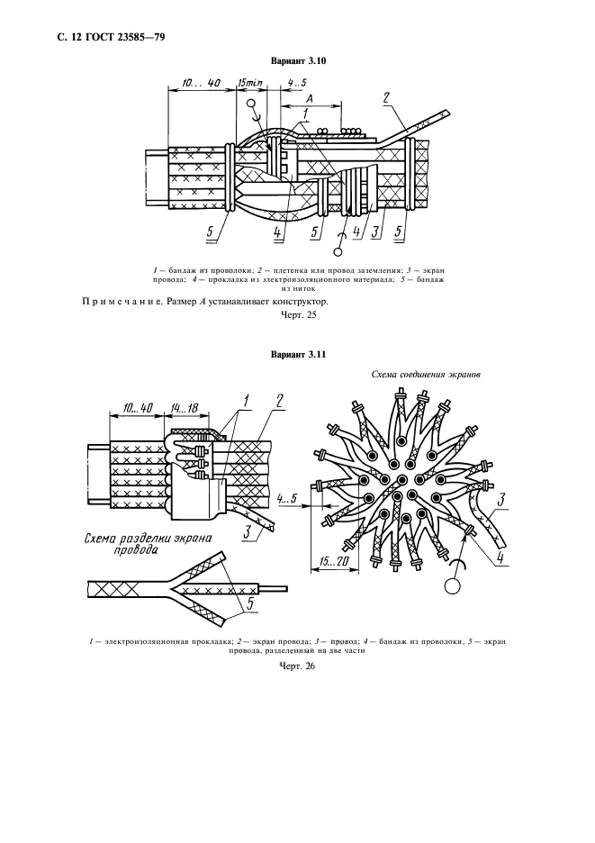
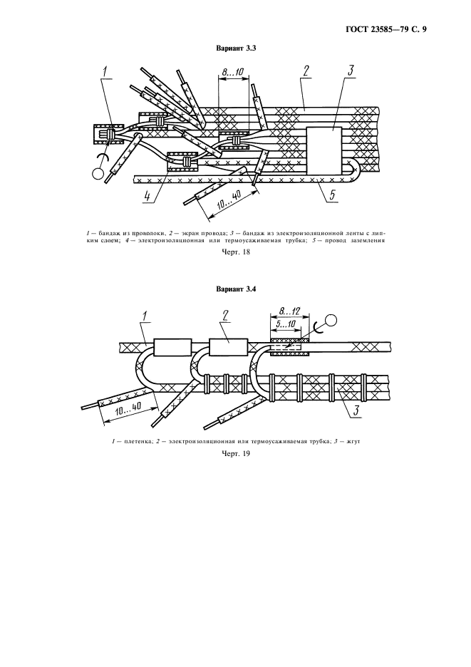
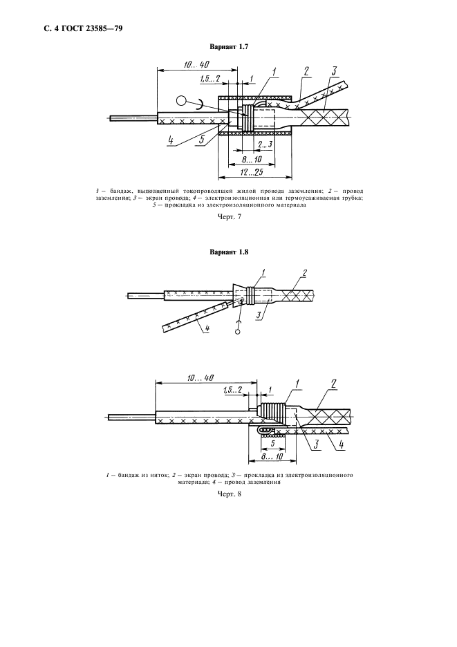
Область применения:Настоящий стандарт устанавливает технические требования к конструкциям разделки и соединения пайкой экранов проводов, применяемых при электрическом монтаже, выполняемом внутри радиоэлектронной аппаратуры, приборов и устройств и отвечающим общим техническим требованиям нормативной документации.
Стандарт не распространяется на конструкции разделки и соединения экранов радиочастотных кабелей и ленточных проводов и технические требования к технологическому процессу выполнения разделки и соединения экранов проводов
Список изменений:№0 от 26.07.1991 (рег. 26.07.1991) «Дата введения перенесена»
№1 от 01.02.1985 (рег. 31.08.1984) «Срок действия продлен»
ГОСТ 23585-79ГОСТ 23585-79ГОСТ 23585-79ГОСТ 23585-79ГОСТ 23585-79ГОСТ 23585-79ГОСТ 23585-79ГОСТ 23585-79ГОСТ 23585-79ГОСТ 23585-79ГОСТ 23585-79ГОСТ 23585-79ГОСТ 23585-79ГОСТ 23585-79ГОСТ 23585-79
 




ГОСТЫ, СТРОИТЕЛЬНЫЕ и ТЕХНИЧЕСКИЕ НОРМАТИВЫ.
Некоммерческая онлайн система, содержащая все Российские Госты, национальные Стандарты и нормативы.
В Системе содержится более 150000 файлов нормативно-технической документации, действующей на территории РФ.
Система предназначена для широкого круга инженерно-технических специалистов.

Рейтинг@Mail.ru Яндекс цитирования

Copyright © www.gostrf.com, 2008 - 2026