Крупнейшая бесплатная информационно-справочная система онлайн доступа к полному собранию технических нормативно-правовых актов РФ. Огромная база технических нормативов (более 150 тысяч документов) и полное собрание национальных стандартов, аутентичное официальной базе Госстандарта. GOSTRF.com - это более 1 Терабайта бесплатной технической информации для всех пользователей интернета. Все электронные копии представленных здесь документов могут распространяться без каких-либо ограничений. Поощряется распространение информации с этого сайта на любых других ресурсах. Каждый человек имеет право на неограниченный доступ к этим документам! Каждый человек имеет право на знание требований, изложенных в данных нормативно-правовых актах!

  


 

ГОСТ 23865-79

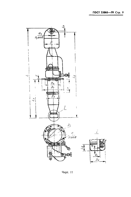
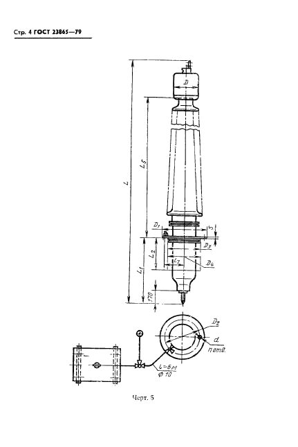
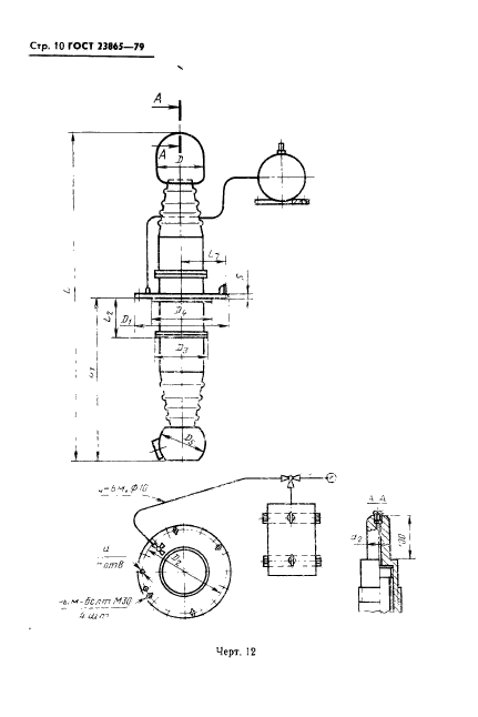
Вводы конденсаторные герметичные на номинальные напряжения от 110 кВ и выше. Типы и размеры

Обозначение:ГОСТ 23865-79
Текущий статус документа: действующий
Название документа рус.:Вводы конденсаторные герметичные на номинальные напряжения от 110 кВ и выше. Типы и размеры
Название документа англ.:Condenser sealed bushings for nominal voltages 110 and higher. Types and sizes
Дата актуализации текста:01.12.2013
Дата издания:01.06.1983
Дата введения:01.01.1982
Дата последнего изменения:22.05.2013
Переиздание:переиздание с изм. 1
Область применения:Настоящий стандарт распространяется на конденсаторные вводы герметичного исполнения с бумажно-масляной изоляцией на номинальные напряжения 110 кВ и выше промышленной частоты от 15 до 60 Гц, предназначенные для трансформаторов (автотрансформаторов), реакторов, масляных выключателей, и линейные вводы, а также вводы для кабельного подключения трансформаторов и вводы с твердой изоляцией
Список изменений:№1 от 01.09.1983 (рег. 13.04.1983) «Срок действия продлен»
№2 от 01.01.1987 (рег. 27.06.1986) «Срок действия продлен»
№3 от 01.01.1988 (рег. 26.10.1987) «Срок действия продлен»
ГОСТ 23865-79ГОСТ 23865-79ГОСТ 23865-79ГОСТ 23865-79ГОСТ 23865-79ГОСТ 23865-79ГОСТ 23865-79ГОСТ 23865-79ГОСТ 23865-79ГОСТ 23865-79ГОСТ 23865-79ГОСТ 23865-79ГОСТ 23865-79ГОСТ 23865-79ГОСТ 23865-79ГОСТ 23865-79ГОСТ 23865-79ГОСТ 23865-79ГОСТ 23865-79ГОСТ 23865-79ГОСТ 23865-79ГОСТ 23865-79ГОСТ 23865-79ГОСТ 23865-79ГОСТ 23865-79ГОСТ 23865-79ГОСТ 23865-79ГОСТ 23865-79ГОСТ 23865-79ГОСТ 23865-79ГОСТ 23865-79ГОСТ 23865-79ГОСТ 23865-79ГОСТ 23865-79ГОСТ 23865-79ГОСТ 23865-79ГОСТ 23865-79ГОСТ 23865-79ГОСТ 23865-79ГОСТ 23865-79ГОСТ 23865-79
 




ГОСТЫ, СТРОИТЕЛЬНЫЕ и ТЕХНИЧЕСКИЕ НОРМАТИВЫ.
Некоммерческая онлайн система, содержащая все Российские Госты, национальные Стандарты и нормативы.
В Системе содержится более 150000 файлов нормативно-технической документации, действующей на территории РФ.
Система предназначена для широкого круга инженерно-технических специалистов.

Рейтинг@Mail.ru Яндекс цитирования

Copyright © www.gostrf.com, 2008 - 2026