Крупнейшая бесплатная информационно-справочная система онлайн доступа к полному собранию технических нормативно-правовых актов РФ. Огромная база технических нормативов (более 150 тысяч документов) и полное собрание национальных стандартов, аутентичное официальной базе Госстандарта. GOSTRF.com - это более 1 Терабайта бесплатной технической информации для всех пользователей интернета. Все электронные копии представленных здесь документов могут распространяться без каких-либо ограничений. Поощряется распространение информации с этого сайта на любых других ресурсах. Каждый человек имеет право на неограниченный доступ к этим документам! Каждый человек имеет право на знание требований, изложенных в данных нормативно-правовых актах!

  


 

ГОСТ 22756-77

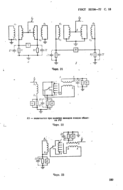
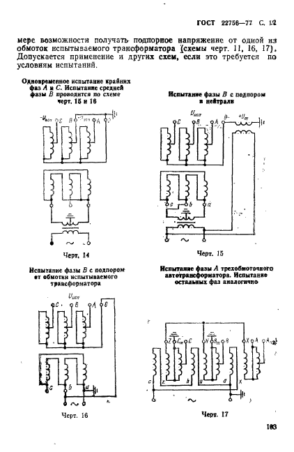
Трансформаторы (силовые и напряжения) и реакторы. Методы испытаний электрической прочности изоляции

Обозначение:ГОСТ 22756-77
Текущий статус документа: действующий
Название документа рус.:Трансформаторы (силовые и напряжения) и реакторы. Методы испытаний электрической прочности изоляции
Название документа англ.:Power and voltage transformers and reactors. Test methods of electric insulation strength
Дата актуализации текста:01.12.2013
Дата издания:01.11.1988
Дата введения:01.01.1979
Дата последнего изменения:22.05.2013
Переиздание:переиздание с изм. 1
Область применения:Настоящий стандарт распространяется на силовые трансформаторы, электромагнитные трансформаторы напряжения, линейные регулировочные трансформаторы, токоограничивающие, шунтирующие, токоограничивающие заземляющие и дугогасящие реакторы климатических исполнений У, ХЛ и Т, категорий размещения 1, 2, 3 и 4 по ГОСТ 15150-69, предназначенные для работы в установках трехфазного переменного тока частоты 50 Гц классов напряжения от 3 кВ и выше.
Стандарт не распространяется на емкостные трансформаторы напряжения, элегазовые трансформаторы, трансформаторы и реакторы, работающие в испытательных, медицинских, рентгеновских, радиотехнических, взрывоопасных, автономных подвижных и других специальных установках, вентильные обмотки преобразовательных трансформаторов и реакторы для них, детали трансформаторов
Список изменений:№1 от 01.01.1983 (рег. 25.03.1982) «Срок действия продлен»
№2 от 01.01.1986 (рег. 31.10.1984) «Срок действия продлен»
№3 от 01.01.1987 (рег. 27.03.1986) «Срок действия продлен»
№4 от 01.07.1990 (рег. 23.10.1989) «Срок действия продлен»
ГОСТ 22756-77ГОСТ 22756-77ГОСТ 22756-77ГОСТ 22756-77ГОСТ 22756-77ГОСТ 22756-77ГОСТ 22756-77ГОСТ 22756-77ГОСТ 22756-77ГОСТ 22756-77ГОСТ 22756-77ГОСТ 22756-77ГОСТ 22756-77ГОСТ 22756-77ГОСТ 22756-77ГОСТ 22756-77ГОСТ 22756-77ГОСТ 22756-77ГОСТ 22756-77ГОСТ 22756-77ГОСТ 22756-77ГОСТ 22756-77ГОСТ 22756-77ГОСТ 22756-77ГОСТ 22756-77ГОСТ 22756-77ГОСТ 22756-77ГОСТ 22756-77ГОСТ 22756-77ГОСТ 22756-77ГОСТ 22756-77ГОСТ 22756-77ГОСТ 22756-77ГОСТ 22756-77ГОСТ 22756-77ГОСТ 22756-77ГОСТ 22756-77ГОСТ 22756-77ГОСТ 22756-77ГОСТ 22756-77ГОСТ 22756-77ГОСТ 22756-77ГОСТ 22756-77ГОСТ 22756-77ГОСТ 22756-77ГОСТ 22756-77
 




ГОСТЫ, СТРОИТЕЛЬНЫЕ и ТЕХНИЧЕСКИЕ НОРМАТИВЫ.
Некоммерческая онлайн система, содержащая все Российские Госты, национальные Стандарты и нормативы.
В Системе содержится более 150000 файлов нормативно-технической документации, действующей на территории РФ.
Система предназначена для широкого круга инженерно-технических специалистов.

Рейтинг@Mail.ru Яндекс цитирования

Copyright © www.gostrf.com, 2008 - 2026