Крупнейшая бесплатная информационно-справочная система онлайн доступа к полному собранию технических нормативно-правовых актов РФ. Огромная база технических нормативов (более 150 тысяч документов) и полное собрание национальных стандартов, аутентичное официальной базе Госстандарта. GOSTRF.com - это более 1 Терабайта бесплатной технической информации для всех пользователей интернета. Все электронные копии представленных здесь документов могут распространяться без каких-либо ограничений. Поощряется распространение информации с этого сайта на любых других ресурсах. Каждый человек имеет право на неограниченный доступ к этим документам! Каждый человек имеет право на знание требований, изложенных в данных нормативно-правовых актах!

  


 

ГОСТ 21106.4-76

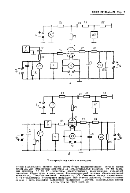
Лампы модуляторные импульсные мощностью, рассеиваемой анодом, свыше 25 Вт. Метод испытания на электрическую прочность

Обозначение:ГОСТ 21106.4-76
Текущий статус документа: действующий
Название документа рус.:Лампы модуляторные импульсные мощностью, рассеиваемой анодом, свыше 25 Вт. Метод испытания на электрическую прочность
Название документа англ.:Modulator flash tubes with anode dissipation above 25 W. Method of electric strength test
Дата актуализации текста:01.12.2013
Дата издания:01.03.1983
Дата введения:01.01.1978
Дата последнего изменения:22.05.2013
Переиздание:переиздание с изм. 1
Область применения:Настоящий стандарт распространяется на импульсные модуляторные лампы мощностью, рассеиваемой анодом, свыше 25 Вт и устанавливает метод испытания ламп на электрическую прочность
Список изменений:№0 от 28.06.1990 (рег. 28.06.1990) «Восстановлен на территории СНГ»
№0 от 01.07.1989 (рег. 05.05.1988) «Текстовое изменение; Изменено заглавие»
№0 от 29.04.1987 (рег. 29.04.1987) «Срок действия продлен»
№1 от 01.11.1979 (рег. 21.06.1979) «Срок действия продлен»
№2 от 01.05.1981 (рег. 28.11.1980) «Срок действия продлен»
№3 от 01.05.1983 (рег. 26.11.1982) «Срок действия продлен»
ГОСТ 21106.4-76ГОСТ 21106.4-76ГОСТ 21106.4-76ГОСТ 21106.4-76ГОСТ 21106.4-76ГОСТ 21106.4-76ГОСТ 21106.4-76ГОСТ 21106.4-76ГОСТ 21106.4-76
 




ГОСТЫ, СТРОИТЕЛЬНЫЕ и ТЕХНИЧЕСКИЕ НОРМАТИВЫ.
Некоммерческая онлайн система, содержащая все Российские Госты, национальные Стандарты и нормативы.
В Системе содержится более 150000 файлов нормативно-технической документации, действующей на территории РФ.
Система предназначена для широкого круга инженерно-технических специалистов.

Рейтинг@Mail.ru Яндекс цитирования

Copyright © www.gostrf.com, 2008 - 2026