Крупнейшая бесплатная информационно-справочная система онлайн доступа к полному собранию технических нормативно-правовых актов РФ. Огромная база технических нормативов (более 150 тысяч документов) и полное собрание национальных стандартов, аутентичное официальной базе Госстандарта. GOSTRF.com - это более 1 Терабайта бесплатной технической информации для всех пользователей интернета. Все электронные копии представленных здесь документов могут распространяться без каких-либо ограничений. Поощряется распространение информации с этого сайта на любых других ресурсах. Каждый человек имеет право на неограниченный доступ к этим документам! Каждый человек имеет право на знание требований, изложенных в данных нормативно-правовых актах!

  


 

ГОСТ 880-75

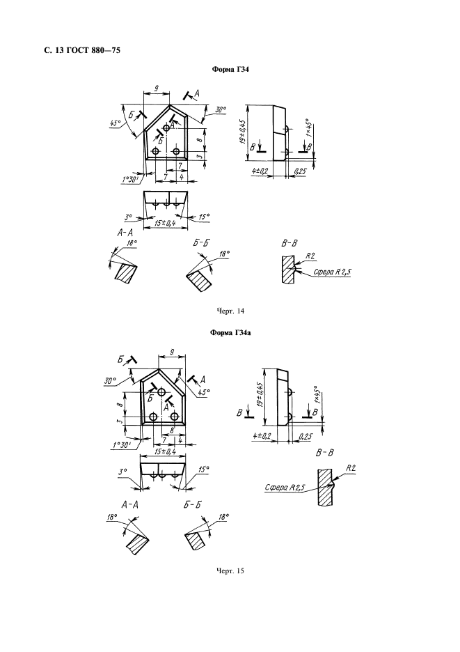
Изделия твердосплавные для горного инструмента. Формы и размеры

Обозначение:ГОСТ 880-75
Текущий статус документа: действующий
Название документа рус.:Изделия твердосплавные для горного инструмента. Формы и размеры
Название документа англ.:Articles made of metal-ceramic hard alloys for mining tools. Shapes and dimensions
Дата актуализации текста:01.12.2013
Дата издания:01.12.2002
Дата введения:07.01.1976
Дата последнего изменения:22.05.2013
Переиздание:переиздание с изм. 1
Область применения:Настоящий стандарт распространяется на следующие формы изделий для горного инструмента: Г11-Г14, Г22-Г26, Г32-Г34, Г36-Г38, Г40, Г41, Г51, Г53-Г55, Г57, Г60, Г61, Г63-Г67
Список изменений:№1 от 01.09.1979 (рег. 10.05.1979) «Срок действия продлен»
№2 от 01.01.1987 (рег. 20.12.1985) «Срок действия продлен»
№3 от 01.07.1989 (рег. 25.01.1989) «Срок действия продлен»
№4 от 01.04.1992 (рег. 18.10.1991) «Срок действия продлен»
ГОСТ 880-75ГОСТ 880-75ГОСТ 880-75ГОСТ 880-75ГОСТ 880-75ГОСТ 880-75ГОСТ 880-75ГОСТ 880-75ГОСТ 880-75ГОСТ 880-75ГОСТ 880-75ГОСТ 880-75ГОСТ 880-75ГОСТ 880-75ГОСТ 880-75ГОСТ 880-75ГОСТ 880-75ГОСТ 880-75ГОСТ 880-75ГОСТ 880-75ГОСТ 880-75ГОСТ 880-75ГОСТ 880-75ГОСТ 880-75ГОСТ 880-75ГОСТ 880-75ГОСТ 880-75ГОСТ 880-75
 




ГОСТЫ, СТРОИТЕЛЬНЫЕ и ТЕХНИЧЕСКИЕ НОРМАТИВЫ.
Некоммерческая онлайн система, содержащая все Российские Госты, национальные Стандарты и нормативы.
В Системе содержится более 150000 файлов нормативно-технической документации, действующей на территории РФ.
Система предназначена для широкого круга инженерно-технических специалистов.

Рейтинг@Mail.ru Яндекс цитирования

Copyright © www.gostrf.com, 2008 - 2026