Крупнейшая бесплатная информационно-справочная система онлайн доступа к полному собранию технических нормативно-правовых актов РФ. Огромная база технических нормативов (более 150 тысяч документов) и полное собрание национальных стандартов, аутентичное официальной базе Госстандарта. GOSTRF.com - это более 1 Терабайта бесплатной технической информации для всех пользователей интернета. Все электронные копии представленных здесь документов могут распространяться без каких-либо ограничений. Поощряется распространение информации с этого сайта на любых других ресурсах. Каждый человек имеет право на неограниченный доступ к этим документам! Каждый человек имеет право на знание требований, изложенных в данных нормативно-правовых актах!

  


 

ГОСТ 20925-75

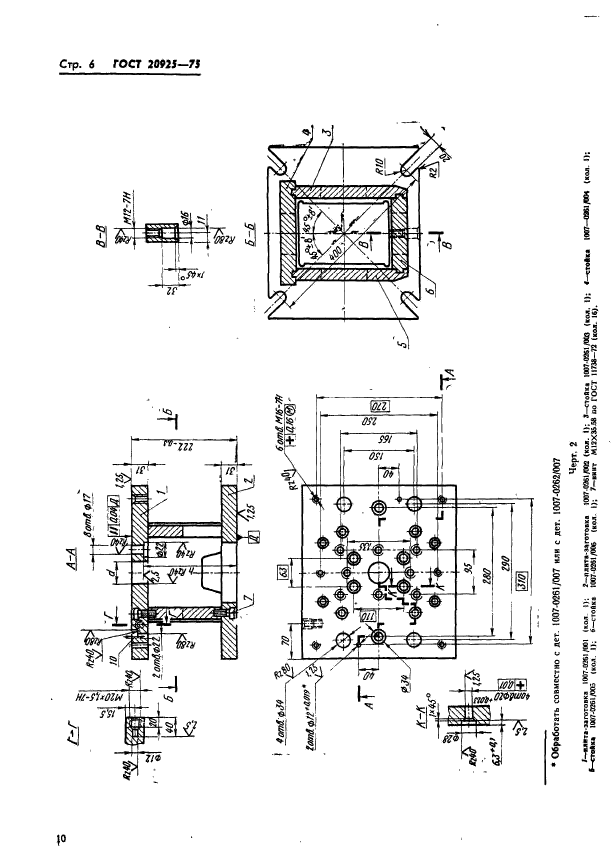
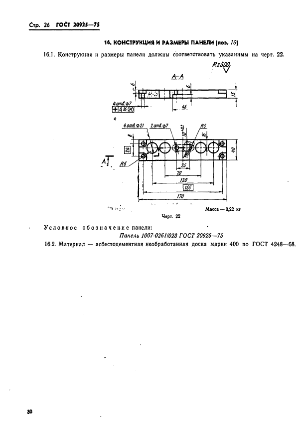
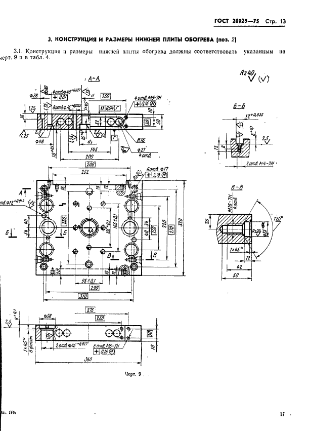
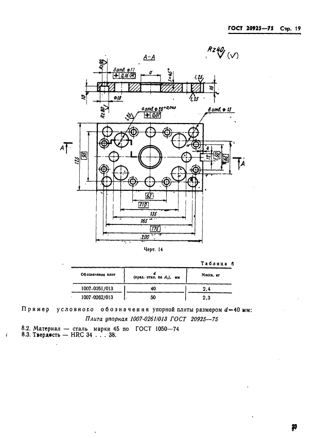
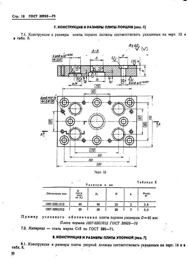
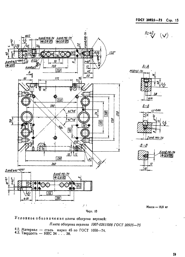
Блоки сменных пресс-форм с нижней загрузочной камерой для прессования изделий из реактопластов. Конструкция и размеры

Обозначение:ГОСТ 20925-75
Текущий статус документа: действующий
Название документа рус.:Блоки сменных пресс-форм с нижней загрузочной камерой для прессования изделий из реактопластов. Конструкция и размеры
Название документа англ.:Units of changeable press-moulds with lowpositioned loading chamber for moulding thermoset articles. Construction and dimensions
Дата актуализации текста:01.12.2013
Дата издания:24.10.1975
Дата введения:30.06.1976
Дата последнего изменения:22.05.2013
Взамен:МН 1515-61
Область применения:Настоящий стандарт распространяется на блоки сменных пресс-форм с нижней загрузочной камерой для литьевого прессования изделий из реактопластов
Список изменений:№1 от 01.07.1981 (рег. 06.04.1981) «Срок действия продлен»
№2 от 01.06.1985 (рег. 18.12.1984) «Срок действия продлен»
ГОСТ 20925-75ГОСТ 20925-75ГОСТ 20925-75ГОСТ 20925-75ГОСТ 20925-75ГОСТ 20925-75ГОСТ 20925-75ГОСТ 20925-75ГОСТ 20925-75ГОСТ 20925-75ГОСТ 20925-75ГОСТ 20925-75ГОСТ 20925-75ГОСТ 20925-75ГОСТ 20925-75ГОСТ 20925-75ГОСТ 20925-75ГОСТ 20925-75ГОСТ 20925-75ГОСТ 20925-75ГОСТ 20925-75ГОСТ 20925-75ГОСТ 20925-75ГОСТ 20925-75ГОСТ 20925-75ГОСТ 20925-75ГОСТ 20925-75ГОСТ 20925-75ГОСТ 20925-75ГОСТ 20925-75ГОСТ 20925-75ГОСТ 20925-75ГОСТ 20925-75ГОСТ 20925-75ГОСТ 20925-75ГОСТ 20925-75ГОСТ 20925-75ГОСТ 20925-75ГОСТ 20925-75
 




ГОСТЫ, СТРОИТЕЛЬНЫЕ и ТЕХНИЧЕСКИЕ НОРМАТИВЫ.
Некоммерческая онлайн система, содержащая все Российские Госты, национальные Стандарты и нормативы.
В Системе содержится более 150000 файлов нормативно-технической документации, действующей на территории РФ.
Система предназначена для широкого круга инженерно-технических специалистов.

Рейтинг@Mail.ru Яндекс цитирования

Copyright © www.gostrf.com, 2008 - 2026