Крупнейшая бесплатная информационно-справочная система онлайн доступа к полному собранию технических нормативно-правовых актов РФ. Огромная база технических нормативов (более 150 тысяч документов) и полное собрание национальных стандартов, аутентичное официальной базе Госстандарта. GOSTRF.com - это более 1 Терабайта бесплатной технической информации для всех пользователей интернета. Все электронные копии представленных здесь документов могут распространяться без каких-либо ограничений. Поощряется распространение информации с этого сайта на любых других ресурсах. Каждый человек имеет право на неограниченный доступ к этим документам! Каждый человек имеет право на знание требований, изложенных в данных нормативно-правовых актах!

  


 

ГОСТ 3497-74

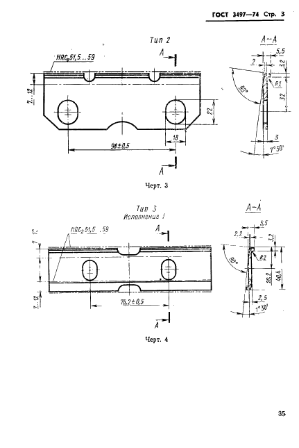
Пластинки трения режущих аппаратов сельскохозяйственных машин. Технические условия

Обозначение:ГОСТ 3497-74
Текущий статус документа: действующий
Название документа рус.:Пластинки трения режущих аппаратов сельскохозяйственных машин. Технические условия
Название документа англ.:Wearing plates for cutter bars of agricultural machines
Дата актуализации текста:01.12.2013
Дата издания:01.08.1985
Дата введения:01.01.1975
Дата последнего изменения:25.11.2013
Переиздание:переиздание с изм. 1
Область применения:Настоящий стандарт распространяется на пластинки трения режущих аппаратов сельскохозяйственных машин.
Стандарт не распространяется на пластинки трения, сопрягаемые с ножевой головкой, за исключением пластинки для внутреннего башмака косилок
Список изменений:№0 от 21.06.1988 (рег. 21.06.1988) «Срок действия продлен»
№1 от 01.01.1981 (рег. 06.11.1980) «Срок действия продлен»
№2 от 01.11.1984 (рег. 04.06.1984) «Срок действия продлен»
№3 от 01.10.1986 (рег. 01.12.1986) «Срок действия продлен»
ГОСТ 3497-74ГОСТ 3497-74ГОСТ 3497-74ГОСТ 3497-74ГОСТ 3497-74ГОСТ 3497-74ГОСТ 3497-74ГОСТ 3497-74ГОСТ 3497-74ГОСТ 3497-74ГОСТ 3497-74
 




ГОСТЫ, СТРОИТЕЛЬНЫЕ и ТЕХНИЧЕСКИЕ НОРМАТИВЫ.
Некоммерческая онлайн система, содержащая все Российские Госты, национальные Стандарты и нормативы.
В Системе содержится более 150000 файлов нормативно-технической документации, действующей на территории РФ.
Система предназначена для широкого круга инженерно-технических специалистов.

Рейтинг@Mail.ru Яндекс цитирования

Copyright © www.gostrf.com, 2008 - 2026