Крупнейшая бесплатная информационно-справочная система онлайн доступа к полному собранию технических нормативно-правовых актов РФ. Огромная база технических нормативов (более 150 тысяч документов) и полное собрание национальных стандартов, аутентичное официальной базе Госстандарта. GOSTRF.com - это более 1 Терабайта бесплатной технической информации для всех пользователей интернета. Все электронные копии представленных здесь документов могут распространяться без каких-либо ограничений. Поощряется распространение информации с этого сайта на любых других ресурсах. Каждый человек имеет право на неограниченный доступ к этим документам! Каждый человек имеет право на знание требований, изложенных в данных нормативно-правовых актах!

  


 

ГОСТ 20398.3-74

Транзисторы полевые. Метод измерения крутизны характеристики

Обозначение:ГОСТ 20398.3-74
Текущий статус документа: действующий
Название документа рус.:Транзисторы полевые. Метод измерения крутизны характеристики
Название документа англ.:Field-effect transistors. Forward transconductance measurement technique
Дата актуализации текста:01.12.2013
Дата издания:01.03.1984
Дата введения:30.06.1976
Дата последнего изменения:22.05.2013
Переиздание:переиздание с изм. 1
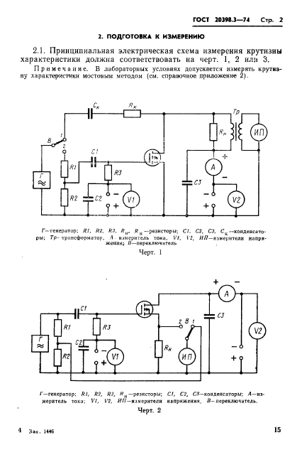
Область применения:Настоящий стандарт распространяется на маломощные полевые транзисторы и устанавливает метод измерения крутизны характеристики S на малом сигнале. (Сигнал считается малым, если при уменьшении его амплитуды в два раза изменение параметра не выходит за пределы погрешности измерения)
Список изменений:№1 от 01.01.1984 (рег. 11.07.1983) «Срок действия продлен»
ГОСТ 20398.3-74ГОСТ 20398.3-74ГОСТ 20398.3-74ГОСТ 20398.3-74ГОСТ 20398.3-74ГОСТ 20398.3-74ГОСТ 20398.3-74
 




ГОСТЫ, СТРОИТЕЛЬНЫЕ и ТЕХНИЧЕСКИЕ НОРМАТИВЫ.
Некоммерческая онлайн система, содержащая все Российские Госты, национальные Стандарты и нормативы.
В Системе содержится более 150000 файлов нормативно-технической документации, действующей на территории РФ.
Система предназначена для широкого круга инженерно-технических специалистов.

Рейтинг@Mail.ru Яндекс цитирования

Copyright © www.gostrf.com, 2008 - 2026