Крупнейшая бесплатная информационно-справочная система онлайн доступа к полному собранию технических нормативно-правовых актов РФ. Огромная база технических нормативов (более 150 тысяч документов) и полное собрание национальных стандартов, аутентичное официальной базе Госстандарта. GOSTRF.com - это более 1 Терабайта бесплатной технической информации для всех пользователей интернета. Все электронные копии представленных здесь документов могут распространяться без каких-либо ограничений. Поощряется распространение информации с этого сайта на любых других ресурсах. Каждый человек имеет право на неограниченный доступ к этим документам! Каждый человек имеет право на знание требований, изложенных в данных нормативно-правовых актах!

  


 

ГОСТ 2.730-73

Единая система конструкторской документации. Обозначения условные графические в схемах. Приборы полупроводниковые

Обозначение:ГОСТ 2.730-73
Текущий статус документа: действующий
Название документа рус.:Единая система конструкторской документации. Обозначения условные графические в схемах. Приборы полупроводниковые
Название документа англ.:Unified system for design documentation. Graphical symbols in diagrams. Semiconductor devices
Дата актуализации текста:01.12.2013
Дата издания:18.05.2010
Дата введения:30.06.1974
Дата последнего изменения:22.05.2013
Переиздание:переиздание с изм. 1
Взамен в части: в части пп. 33 и 34 таблицы
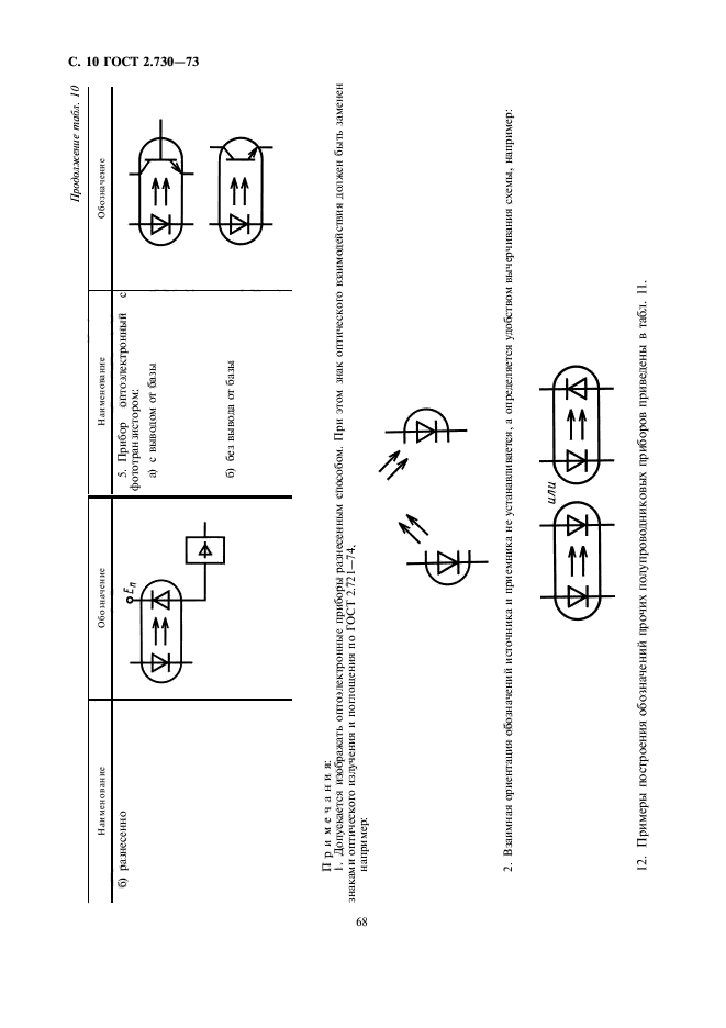
Область применения:Настоящий стандарт устанавливает правила построения условных графических обозначений полупроводниковых приборов на схемах, выполняемых вручную или автоматическим способом во всех отраслях промышленности
Список изменений:№1 от 01.01.1981 (рег. 30.07.1980) «Срок действия продлен»
№2 от 01.01.1988 (рег. 20.04.1987) «Срок действия продлен»
№3 от 01.01.1990 (рег. 24.03.1989) «Срок действия продлен»
№4 от 01.01.1992 (рег. 15.07.1991) «Срок действия продлен»
ГОСТ 2.730-73ГОСТ 2.730-73ГОСТ 2.730-73ГОСТ 2.730-73ГОСТ 2.730-73ГОСТ 2.730-73ГОСТ 2.730-73ГОСТ 2.730-73ГОСТ 2.730-73ГОСТ 2.730-73ГОСТ 2.730-73ГОСТ 2.730-73ГОСТ 2.730-73ГОСТ 2.730-73ГОСТ 2.730-73ГОСТ 2.730-73ГОСТ 2.730-73
 




ГОСТЫ, СТРОИТЕЛЬНЫЕ и ТЕХНИЧЕСКИЕ НОРМАТИВЫ.
Некоммерческая онлайн система, содержащая все Российские Госты, национальные Стандарты и нормативы.
В Системе содержится более 150000 файлов нормативно-технической документации, действующей на территории РФ.
Система предназначена для широкого круга инженерно-технических специалистов.

Рейтинг@Mail.ru Яндекс цитирования

Copyright © www.gostrf.com, 2008 - 2026