Крупнейшая бесплатная информационно-справочная система онлайн доступа к полному собранию технических нормативно-правовых актов РФ. Огромная база технических нормативов (более 150 тысяч документов) и полное собрание национальных стандартов, аутентичное официальной базе Госстандарта. GOSTRF.com - это более 1 Терабайта бесплатной технической информации для всех пользователей интернета. Все электронные копии представленных здесь документов могут распространяться без каких-либо ограничений. Поощряется распространение информации с этого сайта на любых других ресурсах. Каждый человек имеет право на неограниченный доступ к этим документам! Каждый человек имеет право на знание требований, изложенных в данных нормативно-правовых актах!

  


 

ГОСТ 17438-72

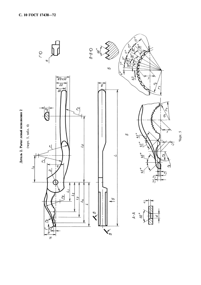
Пассатижи. Технические условия

Обозначение:ГОСТ 17438-72
Текущий статус документа: действующий
Название документа рус.:Пассатижи. Технические условия
Название документа англ.:Combination pliers. Specifications
Дата актуализации текста:01.12.2013
Дата издания:01.06.1999
Дата введения:30.06.1973
Дата последнего изменения:22.05.2013
Переиздание:переиздание с изм. 1
Взамен:МН 516-60
Область применения:Настоящий стандарт распространяется на пассатижи, предазначенные для захвата и зажима труб и деталей разных форм.
Стандарт не распространяется на пассатижи, изготовляемые из материалов, предназначенных для работы во взрывоопасных условиях
Список изменений:№0 от 01.01.2009 (рег. 30.11.2007) «Поправка к изменению»
№1 от 01.11.1979 (рег. 11.09.1979) «Срок действия продлен»
№2 от 01.01.1983 (рег. 17.03.1982) «Срок действия продлен»
№3 от 01.03.1984 (рег. 05.10.1983) «Срок действия продлен»
№4 от 01.09.1987 (рег. 25.03.1987) «Срок действия продлен»
№5 от 01.07.1989 (рег. 27.01.1989) «Срок действия продлен»
№6 от 01.07.1996 (рег. 12.01.1995) «Срок действия продлен»
ГОСТ 17438-72ГОСТ 17438-72ГОСТ 17438-72ГОСТ 17438-72ГОСТ 17438-72ГОСТ 17438-72ГОСТ 17438-72ГОСТ 17438-72ГОСТ 17438-72ГОСТ 17438-72ГОСТ 17438-72ГОСТ 17438-72ГОСТ 17438-72ГОСТ 17438-72ГОСТ 17438-72
 




ГОСТЫ, СТРОИТЕЛЬНЫЕ и ТЕХНИЧЕСКИЕ НОРМАТИВЫ.
Некоммерческая онлайн система, содержащая все Российские Госты, национальные Стандарты и нормативы.
В Системе содержится более 150000 файлов нормативно-технической документации, действующей на территории РФ.
Система предназначена для широкого круга инженерно-технических специалистов.

Рейтинг@Mail.ru Яндекс цитирования

Copyright © www.gostrf.com, 2008 - 2026