Крупнейшая бесплатная информационно-справочная система онлайн доступа к полному собранию технических нормативно-правовых актов РФ. Огромная база технических нормативов (более 150 тысяч документов) и полное собрание национальных стандартов, аутентичное официальной базе Госстандарта. GOSTRF.com - это более 1 Терабайта бесплатной технической информации для всех пользователей интернета. Все электронные копии представленных здесь документов могут распространяться без каких-либо ограничений. Поощряется распространение информации с этого сайта на любых других ресурсах. Каждый человек имеет право на неограниченный доступ к этим документам! Каждый человек имеет право на знание требований, изложенных в данных нормативно-правовых актах!

  


 

ГОСТ 17201-71

Цанги зажимные для инструмента с цилиндрическим хвостовиком. Конструкция

Обозначение:ГОСТ 17201-71
Текущий статус документа: действующий
Название документа рус.:Цанги зажимные для инструмента с цилиндрическим хвостовиком. Конструкция
Название документа англ.:Gripping collets for cutting tools with cylindric shank. Design
Дата актуализации текста:01.12.2013
Дата издания:01.05.1991
Дата введения:01.01.1973
Дата последнего изменения:22.05.2013
Переиздание:переиздание с изм. 1
Взамен:МН 1007-60
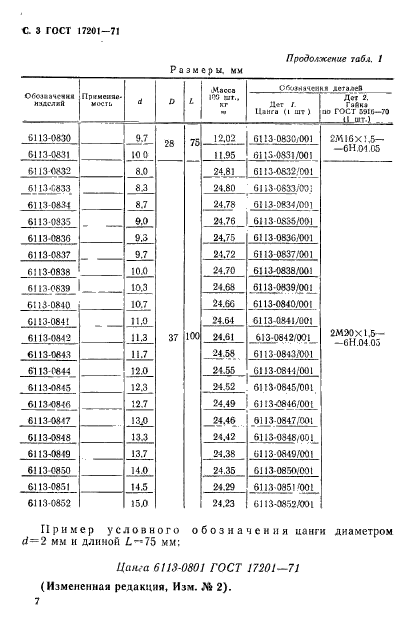
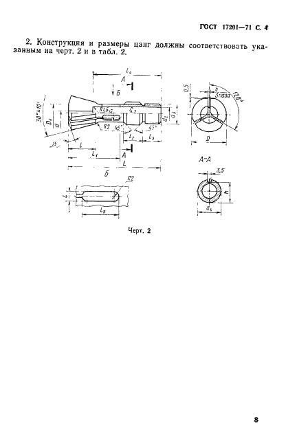
Область применения:Настоящий стандарт устанавливает конструкцию и размеры зажимных цанг
Список изменений:№1 от 01.04.1980 (рег. 31.03.1980) «Срок действия продлен»
№2 от 01.08.1990 (рег. 26.01.1990) «Поправка»
ГОСТ 17201-71ГОСТ 17201-71ГОСТ 17201-71ГОСТ 17201-71ГОСТ 17201-71ГОСТ 17201-71ГОСТ 17201-71
 




ГОСТЫ, СТРОИТЕЛЬНЫЕ и ТЕХНИЧЕСКИЕ НОРМАТИВЫ.
Некоммерческая онлайн система, содержащая все Российские Госты, национальные Стандарты и нормативы.
В Системе содержится более 150000 файлов нормативно-технической документации, действующей на территории РФ.
Система предназначена для широкого круга инженерно-технических специалистов.

Рейтинг@Mail.ru Яндекс цитирования

Copyright © www.gostrf.com, 2008 - 2026