Крупнейшая бесплатная информационно-справочная система онлайн доступа к полному собранию технических нормативно-правовых актов РФ. Огромная база технических нормативов (более 150 тысяч документов) и полное собрание национальных стандартов, аутентичное официальной базе Госстандарта. GOSTRF.com - это более 1 Терабайта бесплатной технической информации для всех пользователей интернета. Все электронные копии представленных здесь документов могут распространяться без каких-либо ограничений. Поощряется распространение информации с этого сайта на любых других ресурсах. Каждый человек имеет право на неограниченный доступ к этим документам! Каждый человек имеет право на знание требований, изложенных в данных нормативно-правовых актах!

  


 

ГОСТ 17129-71

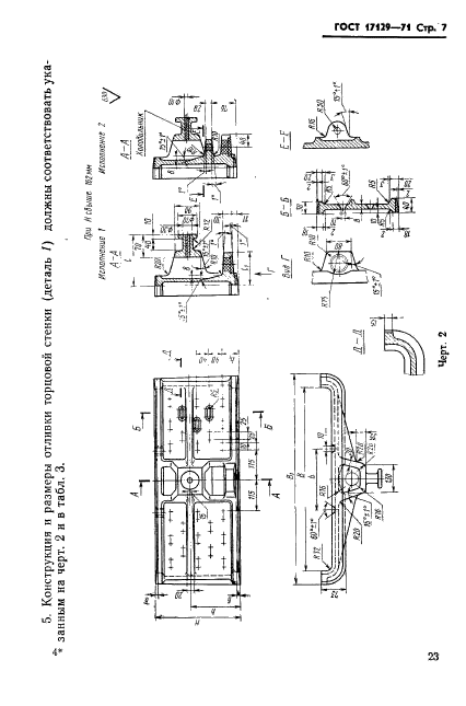
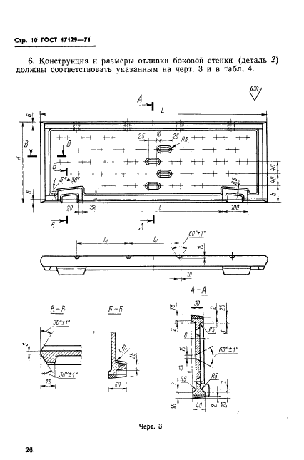
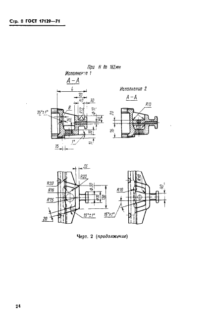
Опоки литейные сварные из литых стальных элементов прямоугольные размерами в свету: длиной от 600 до 900 мм, шириной от 500 до 700 мм, высотой от 125 до 400 мм. Конструкция и размеры

Обозначение:ГОСТ 17129-71
Текущий статус документа: действующий
Название документа рус.:Опоки литейные сварные из литых стальных элементов прямоугольные размерами в свету: длиной от 600 до 900 мм, шириной от 500 до 700 мм, высотой от 125 до 400 мм. Конструкция и размеры
Название документа англ.:Rectangular weld moulding boxes of cast steel elements having inside dimensions: length from 600 to 900 mm, width from 500 to 700 mm, height from 125 to 400 mm. Construction and dimensions
Дата актуализации текста:01.12.2013
Дата издания:23.11.1971
Дата введения:01.01.1973
Дата последнего изменения:22.05.2013
Взамен:МН 1272-60
Область применения:Настоящий стандарт распространяется на литейные прямоугольные сварные опоки из литых стальных элементов, предназначенные для изготовления песчаных литейных форм при машинной и ручной формовке.
Стандарт не распространяется на опоки, применяемые при формовке методом прессования под высоким удельным давлением
Список изменений:№1 от 01.01.1981 (рег. 17.07.1980) «Срок действия продлен»
№2 от 01.05.1989 (рег. 16.11.1988) «Срок действия продлен»
ГОСТ 17129-71ГОСТ 17129-71ГОСТ 17129-71ГОСТ 17129-71ГОСТ 17129-71ГОСТ 17129-71ГОСТ 17129-71ГОСТ 17129-71ГОСТ 17129-71ГОСТ 17129-71ГОСТ 17129-71ГОСТ 17129-71ГОСТ 17129-71ГОСТ 17129-71ГОСТ 17129-71ГОСТ 17129-71ГОСТ 17129-71
 




ГОСТЫ, СТРОИТЕЛЬНЫЕ и ТЕХНИЧЕСКИЕ НОРМАТИВЫ.
Некоммерческая онлайн система, содержащая все Российские Госты, национальные Стандарты и нормативы.
В Системе содержится более 150000 файлов нормативно-технической документации, действующей на территории РФ.
Система предназначена для широкого круга инженерно-технических специалистов.

Рейтинг@Mail.ru Яндекс цитирования

Copyright © www.gostrf.com, 2008 - 2026