Крупнейшая бесплатная информационно-справочная система онлайн доступа к полному собранию технических нормативно-правовых актов РФ. Огромная база технических нормативов (более 150 тысяч документов) и полное собрание национальных стандартов, аутентичное официальной базе Госстандарта. GOSTRF.com - это более 1 Терабайта бесплатной технической информации для всех пользователей интернета. Все электронные копии представленных здесь документов могут распространяться без каких-либо ограничений. Поощряется распространение информации с этого сайта на любых других ресурсах. Каждый человек имеет право на неограниченный доступ к этим документам! Каждый человек имеет право на знание требований, изложенных в данных нормативно-правовых актах!

  


 

ГОСТ 3839-70

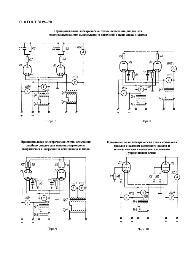
Лампы электронные маломощные. Методы испытаний на долговечность

Обозначение:ГОСТ 3839-70
Текущий статус документа: действующий
Название документа рус.:Лампы электронные маломощные. Методы испытаний на долговечность
Название документа англ.:Low-power electronic tubes. Test methods for life cycle
Дата актуализации текста:01.12.2013
Дата издания:01.05.1998
Дата введения:01.01.1971
Дата последнего изменения:22.05.2013
Переиздание:переиздание с изм. 1
Область применения:Настоящий стандарт распространяется на лампы электронные усилительные и выпрямительные мощностью, продолжительно выделяемой на аноде, до 25 Вт и устанавливает общие методы испытаний на долговечность усилительных ламп в статическом режиме, выпрямительных ламп в режиме выпрямления тока при нормальной и повышенной температурах окружающей среды, а также требования к испытательным установкам
Список изменений:№0 от 01.07.1988 (рег. 23.12.1987) «Текстовое изменение; Изменено заглавие»
№1 от 01.03.1979 (рег. 01.11.1978) «Срок действия продлен»
ГОСТ 3839-70ГОСТ 3839-70ГОСТ 3839-70ГОСТ 3839-70ГОСТ 3839-70ГОСТ 3839-70ГОСТ 3839-70ГОСТ 3839-70ГОСТ 3839-70ГОСТ 3839-70ГОСТ 3839-70ГОСТ 3839-70
 




ГОСТЫ, СТРОИТЕЛЬНЫЕ и ТЕХНИЧЕСКИЕ НОРМАТИВЫ.
Некоммерческая онлайн система, содержащая все Российские Госты, национальные Стандарты и нормативы.
В Системе содержится более 150000 файлов нормативно-технической документации, действующей на территории РФ.
Система предназначена для широкого круга инженерно-технических специалистов.

Рейтинг@Mail.ru Яндекс цитирования

Copyright © www.gostrf.com, 2008 - 2026