Крупнейшая бесплатная информационно-справочная система онлайн доступа к полному собранию технических нормативно-правовых актов РФ. Огромная база технических нормативов (более 150 тысяч документов) и полное собрание национальных стандартов, аутентичное официальной базе Госстандарта. GOSTRF.com - это более 1 Терабайта бесплатной технической информации для всех пользователей интернета. Все электронные копии представленных здесь документов могут распространяться без каких-либо ограничений. Поощряется распространение информации с этого сайта на любых других ресурсах. Каждый человек имеет право на неограниченный доступ к этим документам! Каждый человек имеет право на знание требований, изложенных в данных нормативно-правовых актах!

  


 

ГОСТ 25557-2006

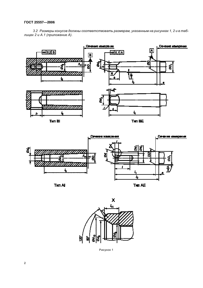
Конусы инструментальные. Основные размеры

Обозначение:ГОСТ 25557-2006
Текущий статус документа: действующий
Название документа рус.:Конусы инструментальные. Основные размеры
Название документа англ.:Machine tools tapers. Basic dimensions
Дата актуализации текста:01.12.2013
Дата издания:17.12.2007
Дата введения:01.01.2008
Дата последнего изменения:22.05.2013
Область применения:Настоящий стандарт устанавливает размеры наружных и внутренних конусов инструментальных хвостовиков трех категорий: общего применения; малые; большие.
Настоящий стандарт также определяет размеры пазов канавок и отверстий, необходимых для конструирования конусов, в случае подачи смазочно-охлаждающей жидкости через инструмент
Список изменений:№0 от 01.05.2008 (рег. 01.05.2008) «Дата введения перенесена»
Приложение №1:Поправка к ГОСТ 25557-2006
ГОСТ 25557-2006ГОСТ 25557-2006ГОСТ 25557-2006ГОСТ 25557-2006ГОСТ 25557-2006ГОСТ 25557-2006ГОСТ 25557-2006ГОСТ 25557-2006ГОСТ 25557-2006ГОСТ 25557-2006ГОСТ 25557-2006ГОСТ 25557-2006ГОСТ 25557-2006

Поправка к ГОСТ 25557-2006

Обозначение:Поправка к ГОСТ 25557-2006
Дата введения:01.05.2008


Поправка к ГОСТ 25557-2006
 




ГОСТЫ, СТРОИТЕЛЬНЫЕ и ТЕХНИЧЕСКИЕ НОРМАТИВЫ.
Некоммерческая онлайн система, содержащая все Российские Госты, национальные Стандарты и нормативы.
В Системе содержится более 150000 файлов нормативно-технической документации, действующей на территории РФ.
Система предназначена для широкого круга инженерно-технических специалистов.

Рейтинг@Mail.ru Яндекс цитирования

Copyright © www.gostrf.com, 2008 - 2026