Крупнейшая бесплатная информационно-справочная система онлайн доступа к полному собранию технических нормативно-правовых актов РФ. Огромная база технических нормативов (более 150 тысяч документов) и полное собрание национальных стандартов, аутентичное официальной базе Госстандарта. GOSTRF.com - это более 1 Терабайта бесплатной технической информации для всех пользователей интернета. Все электронные копии представленных здесь документов могут распространяться без каких-либо ограничений. Поощряется распространение информации с этого сайта на любых других ресурсах. Каждый человек имеет право на неограниченный доступ к этим документам! Каждый человек имеет право на знание требований, изложенных в данных нормативно-правовых актах!

  


 

ГОСТ 28758-97

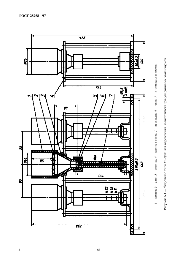
Комбикорма гранулированные для рыб. Методы определения водостойкости

Обозначение:ГОСТ 28758-97
Текущий статус документа: действующий
Название документа рус.:Комбикорма гранулированные для рыб. Методы определения водостойкости
Название документа англ.:Granular mixed fodders for fish. Methods for determination of water-proofness
Дата актуализации текста:01.12.2013
Дата издания:01.01.2002
Дата введения:01.01.2000
Дата последнего изменения:22.05.2013
Переиздание:переиздание
Область применения:Настоящий стандарт распространяется на грнулированные комбикорма для рыб и устанавливает методы определения водостойкости гранул с применением прибора марки У1-ДОВ и устройства УЗ-ДУВ.
Сущность методов заключается в определении времени, в течение которого происходит разрушение гранул и потеря ими от 5 до 25 процентов своей массы под действием колеблющейся воды температурой 18-20 градусов С
ГОСТ 28758-97ГОСТ 28758-97ГОСТ 28758-97ГОСТ 28758-97ГОСТ 28758-97ГОСТ 28758-97ГОСТ 28758-97
 




ГОСТЫ, СТРОИТЕЛЬНЫЕ и ТЕХНИЧЕСКИЕ НОРМАТИВЫ.
Некоммерческая онлайн система, содержащая все Российские Госты, национальные Стандарты и нормативы.
В Системе содержится более 150000 файлов нормативно-технической документации, действующей на территории РФ.
Система предназначена для широкого круга инженерно-технических специалистов.

Рейтинг@Mail.ru Яндекс цитирования

Copyright © www.gostrf.com, 2008 - 2026