Крупнейшая бесплатная информационно-справочная система онлайн доступа к полному собранию технических нормативно-правовых актов РФ. Огромная база технических нормативов (более 150 тысяч документов) и полное собрание национальных стандартов, аутентичное официальной базе Госстандарта. GOSTRF.com - это более 1 Терабайта бесплатной технической информации для всех пользователей интернета. Все электронные копии представленных здесь документов могут распространяться без каких-либо ограничений. Поощряется распространение информации с этого сайта на любых других ресурсах. Каждый человек имеет право на неограниченный доступ к этим документам! Каждый человек имеет право на знание требований, изложенных в данных нормативно-правовых актах!

  


 

ГОСТ 6266-97

Листы гипсокартонные. Технические условия

Обозначение:ГОСТ 6266-97
Текущий статус документа: действующий
Название документа рус.:Листы гипсокартонные. Технические условия
Название документа англ.:Gypsum plasterboards. Specifications
Дата актуализации текста:01.12.2013
Дата издания:12.01.1999
Дата введения:31.03.1999
Дата последнего изменения:22.05.2013
Область применения:Настоящий стандарт распространяется на гипсокартонные листы, предназначенные для отделки стен, устройства перегородок, подвесных потолков, огнезащиты конструкций, изготовления декоративных и звукопоглощающих изделий
Список изменений:№0 от 04.04.2002 (рег. 04.04.2002) «Дата введения перенесена»
№0 от 27.08.2010 (рег. 27.08.2010) «Дата введения перенесена»
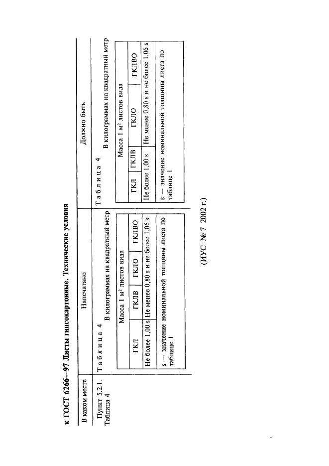
Приложение №1:Поправка к ГОСТ 6266-97
Приложение №2:Поправка к ГОСТ 6266-97
ГОСТ 6266-97ГОСТ 6266-97ГОСТ 6266-97ГОСТ 6266-97ГОСТ 6266-97ГОСТ 6266-97ГОСТ 6266-97ГОСТ 6266-97ГОСТ 6266-97ГОСТ 6266-97ГОСТ 6266-97ГОСТ 6266-97ГОСТ 6266-97ГОСТ 6266-97ГОСТ 6266-97ГОСТ 6266-97ГОСТ 6266-97ГОСТ 6266-97ГОСТ 6266-97ГОСТ 6266-97ГОСТ 6266-97ГОСТ 6266-97ГОСТ 6266-97ГОСТ 6266-97ГОСТ 6266-97ГОСТ 6266-97ГОСТ 6266-97ГОСТ 6266-97ГОСТ 6266-97ГОСТ 6266-97

Поправка к ГОСТ 6266-97

Обозначение:Поправка к ГОСТ 6266-97
Дата введения:04.04.2002


Поправка к ГОСТ 6266-97

Поправка к ГОСТ 6266-97

Обозначение:Поправка к ГОСТ 6266-97
Дата введения:27.08.2010


Поправка к ГОСТ 6266-97
 




ГОСТЫ, СТРОИТЕЛЬНЫЕ и ТЕХНИЧЕСКИЕ НОРМАТИВЫ.
Некоммерческая онлайн система, содержащая все Российские Госты, национальные Стандарты и нормативы.
В Системе содержится более 150000 файлов нормативно-технической документации, действующей на территории РФ.
Система предназначена для широкого круга инженерно-технических специалистов.

Рейтинг@Mail.ru Яндекс цитирования

Copyright © www.gostrf.com, 2008 - 2026