Крупнейшая бесплатная информационно-справочная система онлайн доступа к полному собранию технических нормативно-правовых актов РФ. Огромная база технических нормативов (более 150 тысяч документов) и полное собрание национальных стандартов, аутентичное официальной базе Госстандарта. GOSTRF.com - это более 1 Терабайта бесплатной технической информации для всех пользователей интернета. Все электронные копии представленных здесь документов могут распространяться без каких-либо ограничений. Поощряется распространение информации с этого сайта на любых других ресурсах. Каждый человек имеет право на неограниченный доступ к этим документам! Каждый человек имеет право на знание требований, изложенных в данных нормативно-правовых актах!

  


 

ГОСТ 26602.2-99

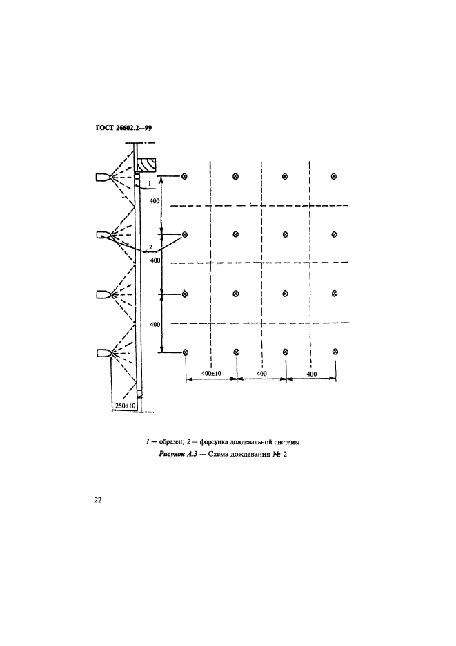
Блоки оконные и дверные. Методы определения воздухо- и водопроницаемости

Обозначение:ГОСТ 26602.2-99
Текущий статус документа: действующий
Название документа рус.:Блоки оконные и дверные. Методы определения воздухо- и водопроницаемости
Название документа англ.:Windows and doors. Methods of determination of air and water transmission
Дата актуализации текста:01.12.2013
Дата издания:24.03.2000
Дата введения:01.01.2000
Дата последнего изменения:22.05.2013
Взамен: СТ СЭВ 4184-83
Взамен в части: в части лабораторных испытаний светопрозрачных конструкций и дверных блоков
Область применения:Настоящий стандарт устанавливает методы определения воздухо- и водопроницаемости оконных и дверных блоков, изготавливаемых из различных материалов и применяемых в зданиях различного назначения.
Допускается применение методов, установленных в настоящем стандарте, для определения воздухо- и водопроницаемости зенитных фонарей, фасадных конструкций, витражей, а также их фрагментов.
Методы, содержащиеся в настоящем стандарте, применяют при проведении типовых, сертификационных и других периодических лабораторных испытаний.
Стандарт не распространяется на узлы примыкания оконных блоков к стеновым проемам или другим, примыкающим к оконным блокам, конструктивным элементам
ГОСТ 26602.2-99ГОСТ 26602.2-99ГОСТ 26602.2-99ГОСТ 26602.2-99ГОСТ 26602.2-99ГОСТ 26602.2-99ГОСТ 26602.2-99ГОСТ 26602.2-99ГОСТ 26602.2-99ГОСТ 26602.2-99ГОСТ 26602.2-99ГОСТ 26602.2-99ГОСТ 26602.2-99ГОСТ 26602.2-99ГОСТ 26602.2-99ГОСТ 26602.2-99ГОСТ 26602.2-99ГОСТ 26602.2-99ГОСТ 26602.2-99ГОСТ 26602.2-99ГОСТ 26602.2-99ГОСТ 26602.2-99ГОСТ 26602.2-99ГОСТ 26602.2-99ГОСТ 26602.2-99ГОСТ 26602.2-99ГОСТ 26602.2-99ГОСТ 26602.2-99ГОСТ 26602.2-99
 




ГОСТЫ, СТРОИТЕЛЬНЫЕ и ТЕХНИЧЕСКИЕ НОРМАТИВЫ.
Некоммерческая онлайн система, содержащая все Российские Госты, национальные Стандарты и нормативы.
В Системе содержится более 150000 файлов нормативно-технической документации, действующей на территории РФ.
Система предназначена для широкого круга инженерно-технических специалистов.

Рейтинг@Mail.ru Яндекс цитирования

Copyright © www.gostrf.com, 2008 - 2026