Крупнейшая бесплатная информационно-справочная система онлайн доступа к полному собранию технических нормативно-правовых актов РФ. Огромная база технических нормативов (более 150 тысяч документов) и полное собрание национальных стандартов, аутентичное официальной базе Госстандарта. GOSTRF.com - это более 1 Терабайта бесплатной технической информации для всех пользователей интернета. Все электронные копии представленных здесь документов могут распространяться без каких-либо ограничений. Поощряется распространение информации с этого сайта на любых других ресурсах. Каждый человек имеет право на неограниченный доступ к этим документам! Каждый человек имеет право на знание требований, изложенных в данных нормативно-правовых актах!

  


 

ГОСТ Р ИСО/МЭК 7809-98

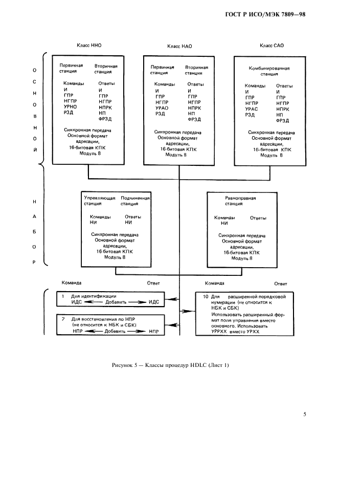
Информационная технология. Передача данных и обмен информацией между системами. Процедуры управления звеном данных верхнего уровня. Классы процедур

Обозначение:ГОСТ Р ИСО/МЭК 7809-98
Текущий статус документа: действующий
Название документа рус.:Информационная технология. Передача данных и обмен информацией между системами. Процедуры управления звеном данных верхнего уровня. Классы процедур
Название документа англ.:Information technology. Telecommunications and information exchange between systems. High-level data link control (HDLC) procedures. Classes of procedures
Дата актуализации текста:01.12.2013
Дата издания:06.04.1999
Дата введения:01.07.1999
Дата последнего изменения:22.05.2013
Область применения:Настоящий стандарт определяет несбалансированные классы процедур HDLC, сбалансированный класс процедур HDLC и классы процедур HDLC режима без установления соединения при синхронной и стартстопной передаче данных.
Сбалансированные операции предназначены для использования в тех случаях, когда необходимо одинаковое управление на каждом конце звена данных. Функциональные требования рассмотрены в соответствии с общей архитектурой процедур HDLC. В процедурах HDLC используется структура кадра, определенная в ГОСТ Р ИСО/МЭК 3309, и элементы процедур, определенные в ГОСТ Р ИСО/МЭК 4335
ГОСТ Р ИСО/МЭК 7809-98ГОСТ Р ИСО/МЭК 7809-98ГОСТ Р ИСО/МЭК 7809-98ГОСТ Р ИСО/МЭК 7809-98ГОСТ Р ИСО/МЭК 7809-98ГОСТ Р ИСО/МЭК 7809-98ГОСТ Р ИСО/МЭК 7809-98ГОСТ Р ИСО/МЭК 7809-98ГОСТ Р ИСО/МЭК 7809-98ГОСТ Р ИСО/МЭК 7809-98ГОСТ Р ИСО/МЭК 7809-98ГОСТ Р ИСО/МЭК 7809-98ГОСТ Р ИСО/МЭК 7809-98ГОСТ Р ИСО/МЭК 7809-98ГОСТ Р ИСО/МЭК 7809-98ГОСТ Р ИСО/МЭК 7809-98ГОСТ Р ИСО/МЭК 7809-98ГОСТ Р ИСО/МЭК 7809-98ГОСТ Р ИСО/МЭК 7809-98ГОСТ Р ИСО/МЭК 7809-98ГОСТ Р ИСО/МЭК 7809-98ГОСТ Р ИСО/МЭК 7809-98ГОСТ Р ИСО/МЭК 7809-98ГОСТ Р ИСО/МЭК 7809-98ГОСТ Р ИСО/МЭК 7809-98ГОСТ Р ИСО/МЭК 7809-98ГОСТ Р ИСО/МЭК 7809-98ГОСТ Р ИСО/МЭК 7809-98ГОСТ Р ИСО/МЭК 7809-98ГОСТ Р ИСО/МЭК 7809-98ГОСТ Р ИСО/МЭК 7809-98ГОСТ Р ИСО/МЭК 7809-98
 




ГОСТЫ, СТРОИТЕЛЬНЫЕ и ТЕХНИЧЕСКИЕ НОРМАТИВЫ.
Некоммерческая онлайн система, содержащая все Российские Госты, национальные Стандарты и нормативы.
В Системе содержится более 150000 файлов нормативно-технической документации, действующей на территории РФ.
Система предназначена для широкого круга инженерно-технических специалистов.

Рейтинг@Mail.ru Яндекс цитирования

Copyright © www.gostrf.com, 2008 - 2026