Крупнейшая бесплатная информационно-справочная система онлайн доступа к полному собранию технических нормативно-правовых актов РФ. Огромная база технических нормативов (более 150 тысяч документов) и полное собрание национальных стандартов, аутентичное официальной базе Госстандарта. GOSTRF.com - это более 1 Терабайта бесплатной технической информации для всех пользователей интернета. Все электронные копии представленных здесь документов могут распространяться без каких-либо ограничений. Поощряется распространение информации с этого сайта на любых других ресурсах. Каждый человек имеет право на неограниченный доступ к этим документам! Каждый человек имеет право на знание требований, изложенных в данных нормативно-правовых актах!

  


 

ГОСТ Р 51081-97

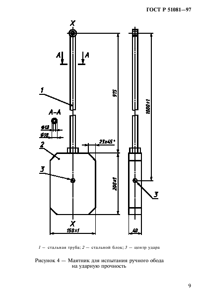
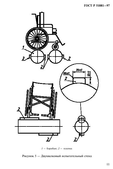
Кресла-коляски. Технические требования и методы испытаний на статическую, ударную и усталостную прочность

Обозначение:ГОСТ Р 51081-97
Текущий статус документа: действующий
Название документа рус.:Кресла-коляски. Технические требования и методы испытаний на статическую, ударную и усталостную прочность
Название документа англ.:Requirements and test methods for static, impact and fatigue strengths
Дата актуализации текста:01.12.2013
Дата издания:16.10.1997
Дата введения:01.01.1998
Дата последнего изменения:22.05.2013
Область применения:Настоящий стандарт распространяется на кресла-коляски с ручным и электроприводом и скутера, обеспечивающие передвижение пользователя массой не более 100 кг внутри и вне помещений со скоростью не более 15 км/ч.
Настоящий стандарт не распространяется на кресла-коляски, колеса которых располагаются на более чем двух осях (например, при “ромбовидной“конфигурации)
ГОСТ Р 51081-97ГОСТ Р 51081-97ГОСТ Р 51081-97ГОСТ Р 51081-97ГОСТ Р 51081-97ГОСТ Р 51081-97ГОСТ Р 51081-97ГОСТ Р 51081-97ГОСТ Р 51081-97ГОСТ Р 51081-97ГОСТ Р 51081-97ГОСТ Р 51081-97ГОСТ Р 51081-97ГОСТ Р 51081-97ГОСТ Р 51081-97ГОСТ Р 51081-97ГОСТ Р 51081-97ГОСТ Р 51081-97ГОСТ Р 51081-97ГОСТ Р 51081-97ГОСТ Р 51081-97ГОСТ Р 51081-97ГОСТ Р 51081-97ГОСТ Р 51081-97ГОСТ Р 51081-97ГОСТ Р 51081-97ГОСТ Р 51081-97ГОСТ Р 51081-97ГОСТ Р 51081-97ГОСТ Р 51081-97ГОСТ Р 51081-97ГОСТ Р 51081-97ГОСТ Р 51081-97ГОСТ Р 51081-97ГОСТ Р 51081-97ГОСТ Р 51081-97ГОСТ Р 51081-97ГОСТ Р 51081-97ГОСТ Р 51081-97
 




ГОСТЫ, СТРОИТЕЛЬНЫЕ и ТЕХНИЧЕСКИЕ НОРМАТИВЫ.
Некоммерческая онлайн система, содержащая все Российские Госты, национальные Стандарты и нормативы.
В Системе содержится более 150000 файлов нормативно-технической документации, действующей на территории РФ.
Система предназначена для широкого круга инженерно-технических специалистов.

Рейтинг@Mail.ru Яндекс цитирования

Copyright © www.gostrf.com, 2008 - 2026