Крупнейшая бесплатная информационно-справочная система онлайн доступа к полному собранию технических нормативно-правовых актов РФ. Огромная база технических нормативов (более 150 тысяч документов) и полное собрание национальных стандартов, аутентичное официальной базе Госстандарта. GOSTRF.com - это более 1 Терабайта бесплатной технической информации для всех пользователей интернета. Все электронные копии представленных здесь документов могут распространяться без каких-либо ограничений. Поощряется распространение информации с этого сайта на любых других ресурсах. Каждый человек имеет право на неограниченный доступ к этим документам! Каждый человек имеет право на знание требований, изложенных в данных нормативно-правовых актах!

  


 

ГОСТ 30340-95

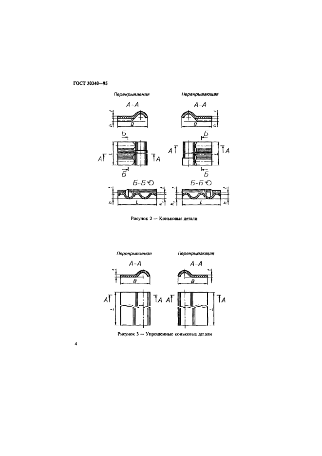
Листы асбестоцементные волнистые. Технические условия

Обозначение:ГОСТ 30340-95
Текущий статус документа: заменён
Название документа рус.:Листы асбестоцементные волнистые. Технические условия
Название документа англ.:Asbestos-cement corrugated sheets. Specifications
Дата актуализации текста:01.12.2013
Дата издания:25.06.1996
Дата введения:31.08.1996
Дата последнего изменения:25.11.2013
Дата окончания срока действия:01.07.2013
Область применения:Настоящий стандарт распространяется на асбестоцементные волнистые листы и детали к ним, предназначенные для устройства кровель и стеновых ограждений зданий и сооружений
ГОСТ 30340-95ГОСТ 30340-95ГОСТ 30340-95ГОСТ 30340-95ГОСТ 30340-95ГОСТ 30340-95ГОСТ 30340-95ГОСТ 30340-95ГОСТ 30340-95ГОСТ 30340-95ГОСТ 30340-95ГОСТ 30340-95ГОСТ 30340-95ГОСТ 30340-95ГОСТ 30340-95ГОСТ 30340-95ГОСТ 30340-95ГОСТ 30340-95ГОСТ 30340-95ГОСТ 30340-95
 




ГОСТЫ, СТРОИТЕЛЬНЫЕ и ТЕХНИЧЕСКИЕ НОРМАТИВЫ.
Некоммерческая онлайн система, содержащая все Российские Госты, национальные Стандарты и нормативы.
В Системе содержится более 150000 файлов нормативно-технической документации, действующей на территории РФ.
Система предназначена для широкого круга инженерно-технических специалистов.

Рейтинг@Mail.ru Яндекс цитирования

Copyright © www.gostrf.com, 2008 - 2026