Крупнейшая бесплатная информационно-справочная система онлайн доступа к полному собранию технических нормативно-правовых актов РФ. Огромная база технических нормативов (более 150 тысяч документов) и полное собрание национальных стандартов, аутентичное официальной базе Госстандарта. GOSTRF.com - это более 1 Терабайта бесплатной технической информации для всех пользователей интернета. Все электронные копии представленных здесь документов могут распространяться без каких-либо ограничений. Поощряется распространение информации с этого сайта на любых других ресурсах. Каждый человек имеет право на неограниченный доступ к этим документам! Каждый человек имеет право на знание требований, изложенных в данных нормативно-правовых актах!

  


 

ГОСТ 14635-93

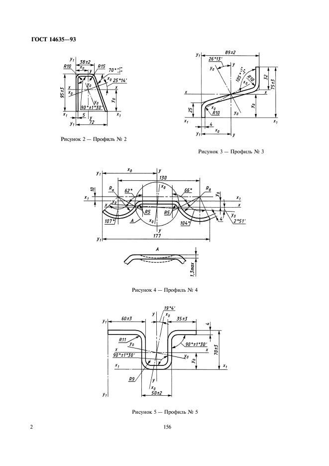
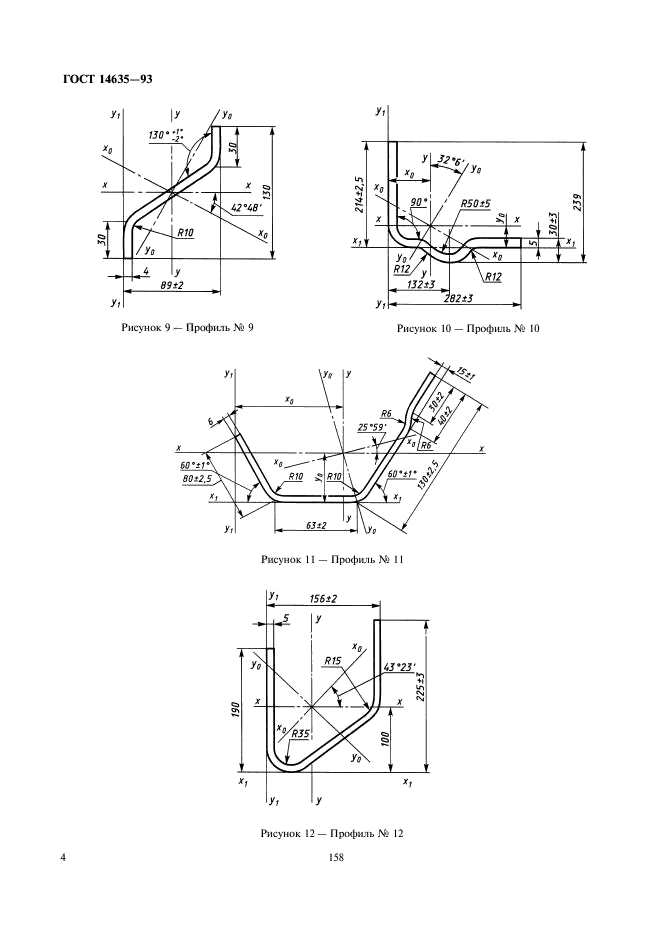
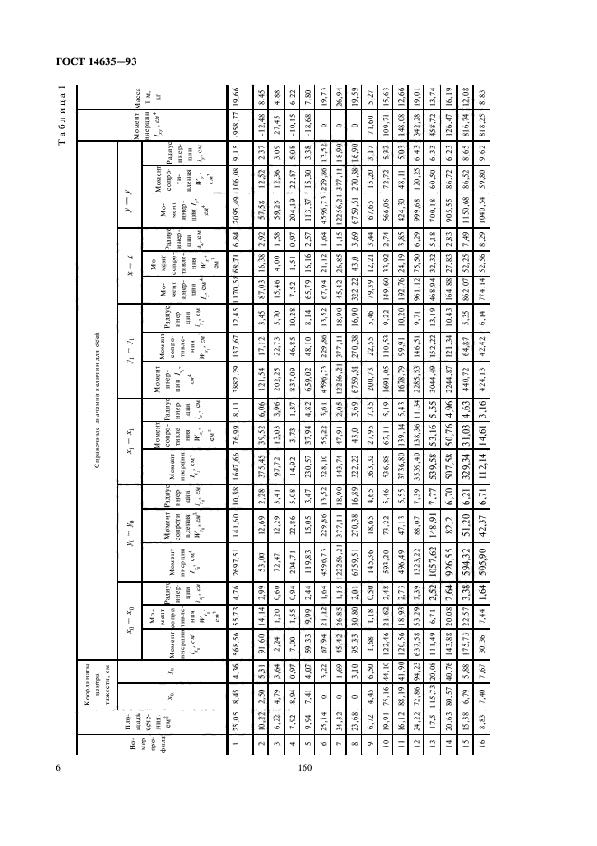
Профили стальные гнутые специальные для вагоностроения. Сортамент

Обозначение:ГОСТ 14635-93
Текущий статус документа: действующий
Название документа рус.:Профили стальные гнутые специальные для вагоностроения. Сортамент
Название документа англ.:Steel cold-shaped special profiles for car building. Dimensions
Дата актуализации текста:01.12.2013
Дата издания:01.04.2003
Дата введения:01.01.1997
Дата последнего изменения:22.05.2013
Переиздание:переиздание
Область применения:Настоящий стандарт распространяется на стальные гнутые специальные профили для вагоностроения, изготовляемые на профилегибочных агрегатах из холоднокатаного и горячекатаного листового проката из углеродистой стали обыкновенного качества, углеродистой качественной конструкционой и низколегированной
ГОСТ 14635-93ГОСТ 14635-93ГОСТ 14635-93ГОСТ 14635-93ГОСТ 14635-93ГОСТ 14635-93ГОСТ 14635-93ГОСТ 14635-93ГОСТ 14635-93
 




ГОСТЫ, СТРОИТЕЛЬНЫЕ и ТЕХНИЧЕСКИЕ НОРМАТИВЫ.
Некоммерческая онлайн система, содержащая все Российские Госты, национальные Стандарты и нормативы.
В Системе содержится более 150000 файлов нормативно-технической документации, действующей на территории РФ.
Система предназначена для широкого круга инженерно-технических специалистов.

Рейтинг@Mail.ru Яндекс цитирования

Copyright © www.gostrf.com, 2008 - 2026