Крупнейшая бесплатная информационно-справочная система онлайн доступа к полному собранию технических нормативно-правовых актов РФ. Огромная база технических нормативов (более 150 тысяч документов) и полное собрание национальных стандартов, аутентичное официальной базе Госстандарта. GOSTRF.com - это более 1 Терабайта бесплатной технической информации для всех пользователей интернета. Все электронные копии представленных здесь документов могут распространяться без каких-либо ограничений. Поощряется распространение информации с этого сайта на любых других ресурсах. Каждый человек имеет право на неограниченный доступ к этим документам! Каждый человек имеет право на знание требований, изложенных в данных нормативно-правовых актах!

  


 

ГОСТ Р 50835-95

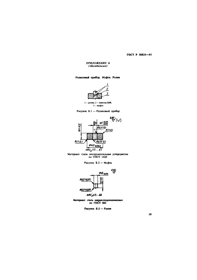
Вещества взрывчатые бризантные. Методы определения характеристик чувствительности к трению при ударном сдвиге

Обозначение:ГОСТ Р 50835-95
Текущий статус документа: действующий
Название документа рус.:Вещества взрывчатые бризантные. Методы определения характеристик чувствительности к трению при ударном сдвиге
Название документа англ.:High explosives. Sensitivity characteristics determination for friction when impact displacement
Дата актуализации текста:01.12.2013
Дата издания:20.02.1996
Дата введения:01.01.1997
Дата последнего изменения:22.05.2013
Область применения:Настоящий стандарт распространяется на твердые бризантные взрывчатые вещества и устанавливает методы определения следующих характеристик чувствительности к трению при ударном сдвиге:
- нижнего предела чувствительности к трению - основная характеристика;
- частости взрывов - дополнительная характеристика, используемая для определения вероятности взрыва бризантных взрывчатых веществ в зависимости от давления прижатия
ГОСТ Р 50835-95ГОСТ Р 50835-95ГОСТ Р 50835-95ГОСТ Р 50835-95ГОСТ Р 50835-95ГОСТ Р 50835-95ГОСТ Р 50835-95ГОСТ Р 50835-95ГОСТ Р 50835-95ГОСТ Р 50835-95ГОСТ Р 50835-95ГОСТ Р 50835-95ГОСТ Р 50835-95ГОСТ Р 50835-95ГОСТ Р 50835-95ГОСТ Р 50835-95
 




ГОСТЫ, СТРОИТЕЛЬНЫЕ и ТЕХНИЧЕСКИЕ НОРМАТИВЫ.
Некоммерческая онлайн система, содержащая все Российские Госты, национальные Стандарты и нормативы.
В Системе содержится более 150000 файлов нормативно-технической документации, действующей на территории РФ.
Система предназначена для широкого круга инженерно-технических специалистов.

Рейтинг@Mail.ru Яндекс цитирования

Copyright © www.gostrf.com, 2008 - 2026