Крупнейшая бесплатная информационно-справочная система онлайн доступа к полному собранию технических нормативно-правовых актов РФ. Огромная база технических нормативов (более 150 тысяч документов) и полное собрание национальных стандартов, аутентичное официальной базе Госстандарта. GOSTRF.com - это более 1 Терабайта бесплатной технической информации для всех пользователей интернета. Все электронные копии представленных здесь документов могут распространяться без каких-либо ограничений. Поощряется распространение информации с этого сайта на любых других ресурсах. Каждый человек имеет право на неограниченный доступ к этим документам! Каждый человек имеет право на знание требований, изложенных в данных нормативно-правовых актах!

  


 

ГОСТ Р 50529-93

Оружие ручное огнестрельное, устройства промышленного и специального назначения. Требования безопасности и методы испытаний на безопасность

Обозначение:ГОСТ Р 50529-93
Текущий статус документа: заменён
Название документа рус.:Оружие ручное огнестрельное, устройства промышленного и специального назначения. Требования безопасности и методы испытаний на безопасность
Название документа англ.:Hand fire-arm and devices of industrial and special purpose. Safety requirements and safety testing methods
Дата актуализации текста:01.12.2013
Дата издания:05.04.1995
Дата введения:01.07.1993
Дата последнего изменения:22.05.2013
Дата окончания срока действия:01.01.2010
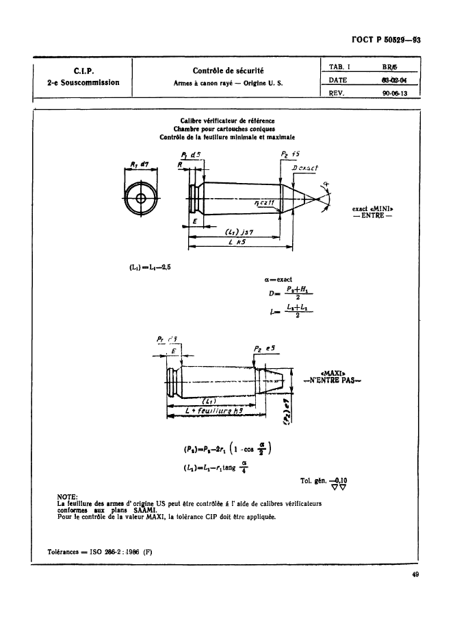
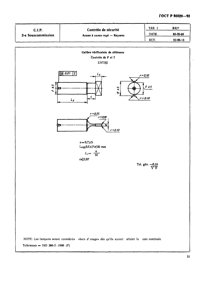
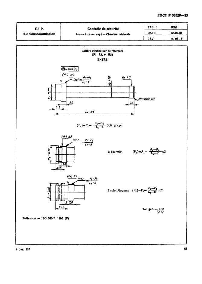
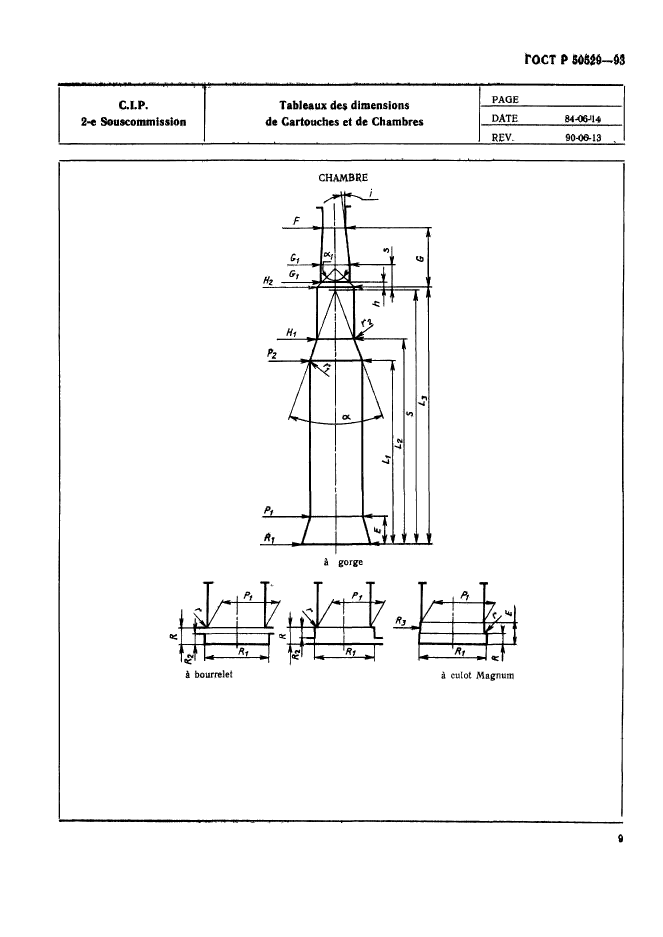
Область применения:Настоящий стандарт устанавливает требования, выполнение которых обеспечивает безопасность функционирования ручного огнестрельного оружия, а также методы испытаний указанного оружия на безопасность в соответствии с нормативными документами Постоянной международной комиссии (ПМК) Брюссельской конвенции по взаимному признанию испытательных клейм ручного огнестрельного оружия.
В стандарте приведены требования к параметрам ручного огнестрельного оружия, методам и средствам испытаний, установленные документами ПМК для целей сертификации на безопасность
Список изменений:№1 от 01.09.1999 (рег. 19.05.1999) «Срок действия продлен»
ГОСТ Р 50529-93ГОСТ Р 50529-93ГОСТ Р 50529-93ГОСТ Р 50529-93ГОСТ Р 50529-93ГОСТ Р 50529-93ГОСТ Р 50529-93ГОСТ Р 50529-93ГОСТ Р 50529-93ГОСТ Р 50529-93ГОСТ Р 50529-93ГОСТ Р 50529-93ГОСТ Р 50529-93ГОСТ Р 50529-93ГОСТ Р 50529-93ГОСТ Р 50529-93ГОСТ Р 50529-93ГОСТ Р 50529-93ГОСТ Р 50529-93ГОСТ Р 50529-93ГОСТ Р 50529-93ГОСТ Р 50529-93ГОСТ Р 50529-93ГОСТ Р 50529-93ГОСТ Р 50529-93ГОСТ Р 50529-93ГОСТ Р 50529-93ГОСТ Р 50529-93ГОСТ Р 50529-93ГОСТ Р 50529-93ГОСТ Р 50529-93ГОСТ Р 50529-93ГОСТ Р 50529-93ГОСТ Р 50529-93ГОСТ Р 50529-93ГОСТ Р 50529-93ГОСТ Р 50529-93ГОСТ Р 50529-93ГОСТ Р 50529-93ГОСТ Р 50529-93ГОСТ Р 50529-93ГОСТ Р 50529-93ГОСТ Р 50529-93ГОСТ Р 50529-93ГОСТ Р 50529-93ГОСТ Р 50529-93ГОСТ Р 50529-93ГОСТ Р 50529-93ГОСТ Р 50529-93ГОСТ Р 50529-93ГОСТ Р 50529-93ГОСТ Р 50529-93ГОСТ Р 50529-93ГОСТ Р 50529-93ГОСТ Р 50529-93ГОСТ Р 50529-93ГОСТ Р 50529-93ГОСТ Р 50529-93ГОСТ Р 50529-93ГОСТ Р 50529-93ГОСТ Р 50529-93ГОСТ Р 50529-93ГОСТ Р 50529-93ГОСТ Р 50529-93ГОСТ Р 50529-93ГОСТ Р 50529-93ГОСТ Р 50529-93ГОСТ Р 50529-93ГОСТ Р 50529-93ГОСТ Р 50529-93ГОСТ Р 50529-93ГОСТ Р 50529-93ГОСТ Р 50529-93ГОСТ Р 50529-93ГОСТ Р 50529-93ГОСТ Р 50529-93ГОСТ Р 50529-93ГОСТ Р 50529-93ГОСТ Р 50529-93ГОСТ Р 50529-93ГОСТ Р 50529-93ГОСТ Р 50529-93ГОСТ Р 50529-93ГОСТ Р 50529-93ГОСТ Р 50529-93ГОСТ Р 50529-93ГОСТ Р 50529-93ГОСТ Р 50529-93ГОСТ Р 50529-93ГОСТ Р 50529-93
 




ГОСТЫ, СТРОИТЕЛЬНЫЕ и ТЕХНИЧЕСКИЕ НОРМАТИВЫ.
Некоммерческая онлайн система, содержащая все Российские Госты, национальные Стандарты и нормативы.
В Системе содержится более 150000 файлов нормативно-технической документации, действующей на территории РФ.
Система предназначена для широкого круга инженерно-технических специалистов.

Рейтинг@Mail.ru Яндекс цитирования

Copyright © www.gostrf.com, 2008 - 2026