Крупнейшая бесплатная информационно-справочная система онлайн доступа к полному собранию технических нормативно-правовых актов РФ. Огромная база технических нормативов (более 150 тысяч документов) и полное собрание национальных стандартов, аутентичное официальной базе Госстандарта. GOSTRF.com - это более 1 Терабайта бесплатной технической информации для всех пользователей интернета. Все электронные копии представленных здесь документов могут распространяться без каких-либо ограничений. Поощряется распространение информации с этого сайта на любых других ресурсах. Каждый человек имеет право на неограниченный доступ к этим документам! Каждый человек имеет право на знание требований, изложенных в данных нормативно-правовых актах!

  


 

ГОСТ 29091-91

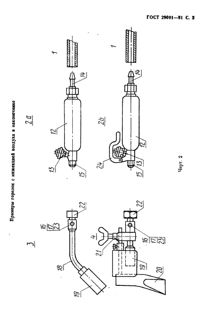
Горелки ручные газовоздушные инжекторные. Технические требования и методы испытаний

Обозначение:ГОСТ 29091-91
Текущий статус документа: действующий
Название документа рус.:Горелки ручные газовоздушные инжекторные. Технические требования и методы испытаний
Название документа англ.:Air-aspirated hand blowpipes. Requirements and test methods
Дата актуализации текста:01.12.2013
Дата издания:09.12.1991
Дата введения:30.06.1992
Дата последнего изменения:22.05.2013
Область применения:Настоящий стандарт распространяется на ручные горелки для пайки твердыми и мягкими припоями, подогрева, плавления и других подобных термических процессов, в которых используется горючий газ и всасываемый из атмосферы воздух (горелки инжекторного типа).
Стандарт не распространяется на горелки, в которых горючее выходит из инжектора в жидком состоянии, а также на горелки, в которых источник газа прикреплен непосредственно к горелке
ГОСТ 29091-91ГОСТ 29091-91ГОСТ 29091-91ГОСТ 29091-91ГОСТ 29091-91ГОСТ 29091-91ГОСТ 29091-91ГОСТ 29091-91ГОСТ 29091-91ГОСТ 29091-91ГОСТ 29091-91ГОСТ 29091-91ГОСТ 29091-91ГОСТ 29091-91
 




ГОСТЫ, СТРОИТЕЛЬНЫЕ и ТЕХНИЧЕСКИЕ НОРМАТИВЫ.
Некоммерческая онлайн система, содержащая все Российские Госты, национальные Стандарты и нормативы.
В Системе содержится более 150000 файлов нормативно-технической документации, действующей на территории РФ.
Система предназначена для широкого круга инженерно-технических специалистов.

Рейтинг@Mail.ru Яндекс цитирования

Copyright © www.gostrf.com, 2008 - 2026